EasyManua.ls Logo

Felder BF 6-41 - Operating the Planer-Tablesaw Fence; Laying the Straightedge Flat; Sliding, Clamping, Remounting

Felder BF 6-41
214 pages
Print Icon
To Next Page IconTo Next Page
To Next Page IconTo Next Page
To Previous Page IconTo Previous Page
To Previous Page IconTo Previous Page
Loading...
- 403 -
H3- Bedienung des Hobel-
Kreissägeanschlages
Schwenken (Option)
- Beide Rändelschrauben R öffnen
- Klemmhebel K1 öffnen
- Gewünschten Winkel einstellen
- Winkel an der Skala S1 ablesen
- Klemmhebel K1 klemmen
- Rändelschrauben R klemmen
Feinverstellen
- Klemmhebel K2 öffnen
- Handrad H drehen
Gewünschte Position einstellen
1 Umdrehung = 1,5 mm
- Position bei Skala S2 im
Kreissägetisch ablesen
- Klemmhebel K2 klemmen
Lineal umlegen
- Beide Rändelschrauben R öffnen
- Lineal nach vorne ausziehen
- Lineal flach auf den Tisch legen
- Lineal bei Klemmschiene K
einfädeln
- Rändelschrauben R klemmen
Verschieben, Klemmen,Umsetzen
- Exzenterhebel öffnen
- Anschlag in beliebige Position
schieben
- Falls erforderlich Exzenterhebel in
andere Bohrung B umsetzen
- Exzenterhebel klemmen.
H3- Mode d´emploi du guide
dégau-scie
Inclinaison (option)
- Desserer les 2 molettes R
- Desserer la poignée de bloc. K1
- Régler l´angle souhaité
- Vérifier l´angle sur l´echelle grad.
- Bloquer la poignée K1
- Serrer les molettes R
Réglage fin
- Desserer la poignée de bloc. K2
- Tourner la molette H et régler la
position souhaitée
1 tour de molette = 1,5 mm
- Vérifier la position sur l´echelle gra-
duée S2 en bord de table
- Bloquer la poignée K2
Montage à plat du profilé
- Desserer les 2 molettes R
- Retirer le profilé vers l´avant
- Poser le profilé à plat sur la table
- Faire coulisser le profilé sur la
réglette de blocage K
- Serrer les molettes R
Déplacer, bloquer, répositionner
ailleurs
- Desserer la poignée à excentrique
- Deplacer par coulissement le
guide à la position souhaitée
- Si necessaire changer la position
en B de la poignée à escentrique
- Bloquer la poignée à excentrique
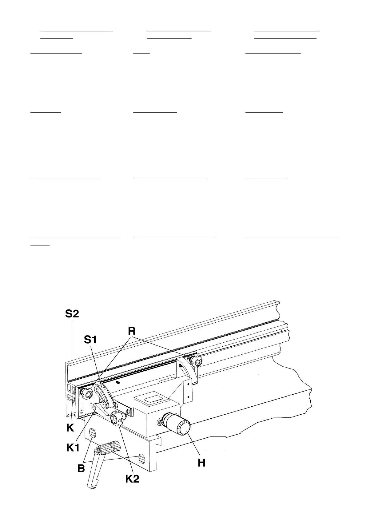
H3- Operating the planer-
tablesaw fence
Tilting
- open both thumbscrews R
- open clamping lever K1
- set the desired angle
- read the angle on scale S1
- tighten clamping lever K1
- tighten thumbscrews R
Fine adjustment
- open clamping lever K2
- turn handwheel H
set the desired position
1 turn = 1.5 mm
- read the position on scale S2 in
the sawtable
- tighten clamping lever K2
Laying the straightedge flat
- open both thumbscrews R
- slide the straightedge out forward
- lay straightedge flat on the table
- slide the straightedge over the
clamping bar K
- tighten thumbscrews R
Sliding, clamping, remounting
- open eccentric lever
- slide fence to desired position
- if necessary, reinsert the eccentric
lever in other hole B
-tighten eccentric lever.

Table of Contents

Related product manuals