▬▬▬▬▬▬▬▬▬▬▬▬▬▬▬▬▬▬▬▬▬▬▬▬▬▬▬▬▬▬▬ PÂTES FRAÎCHES
FR
istruzioniIDM
- 10 - Langue Française
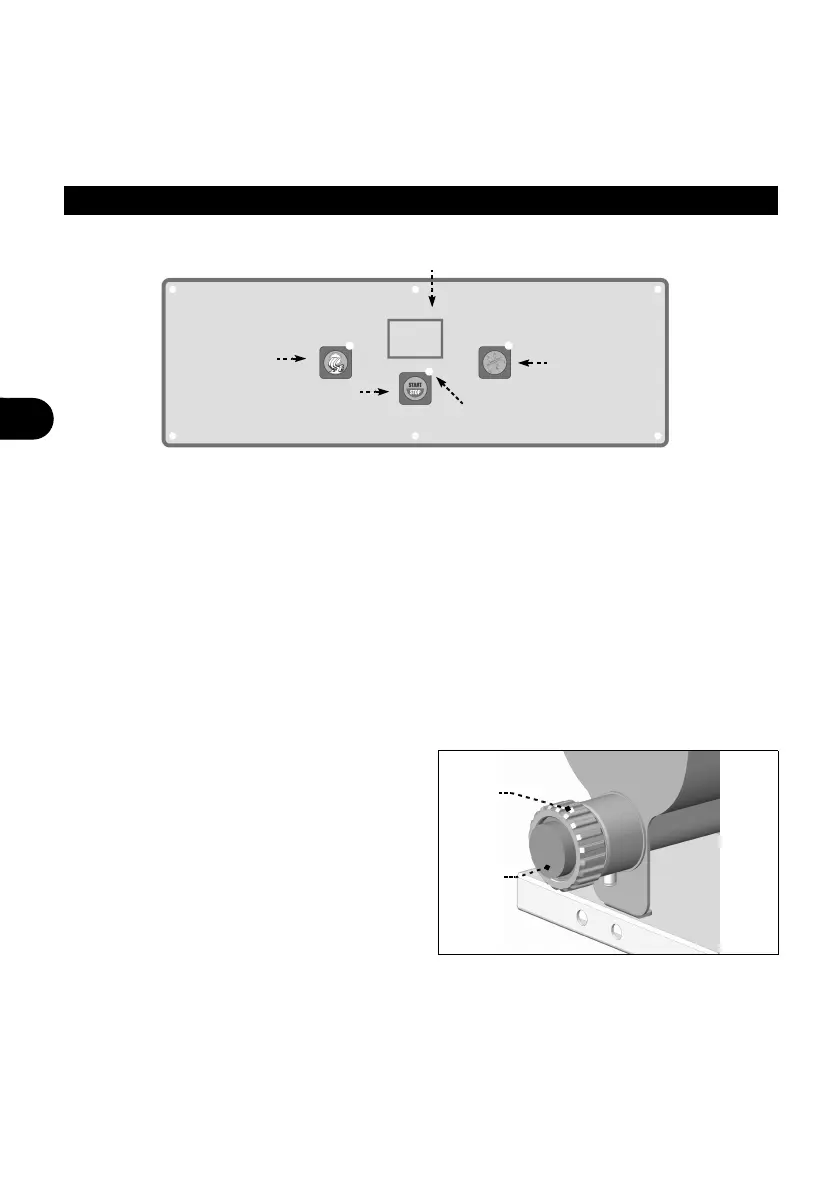
DESCRIPTION DES COMMANDES
L'appareil est équipé de dispositifs de commande, répertoriés dans une liste, nécessaires
à l'activation des fonctions principales.
G) Bouton : il sert à activer et désactiver le fonctionnement de l’appareil.
H) Bouton : sert à sélectionner le cycle de mélange ; pressé plusieurs fois, il sert à confi-
gurer la valeur du timer.
I) Bouton : sert à sélectionner le cycle d’extrusion.
J) Écran : sert à visualiser le temps de pétrissage pendant le cycle de travail.
K) Voyant lumineux : allumé, il signale que l'appareil est alimenté électriquement.
CHANGEMENT TRÉFILEUSE D'EXTRUSION
1. Dévisser la bague (L).
2. Remplacer la tréfileuse d'extrusion (M)
par celle adaptée au type de travail à ef-
fectuer.
3. Revisser la bague (L).
l
M
IDM-34606300301.pdf
PF25E - PF40E
G
I
H
J
K