EasyManua.ls Logo

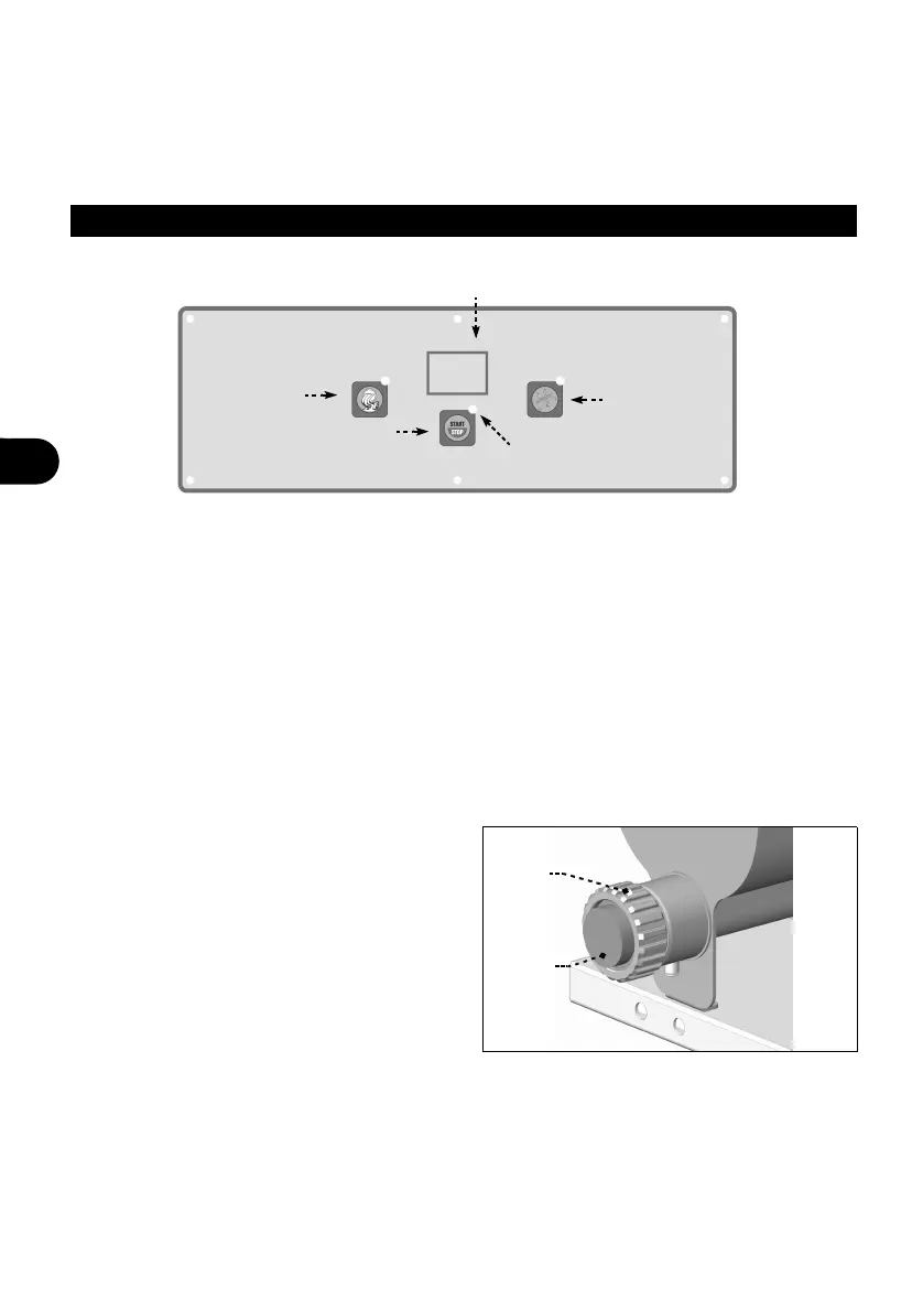
Fimar PF40 - Auswechseln der Matrize; Beschreibung der Bedienelemente

Default Icon
Print Icon
To Next Page IconTo Next Page
To Next Page IconTo Next Page
To Previous Page IconTo Previous Page
To Previous Page IconTo Previous Page
Loading...

Table of Contents

Related product manuals