EasyManua.ls Logo

Firepower FP-235 - FP-235 AC;DC Parts List and Diagram; FP-235 AC;DC Parts Breakdown

Default Icon
34 pages
Print Icon
To Next Page IconTo Next Page
To Next Page IconTo Next Page
To Previous Page IconTo Previous Page
To Previous Page IconTo Previous Page
Loading...
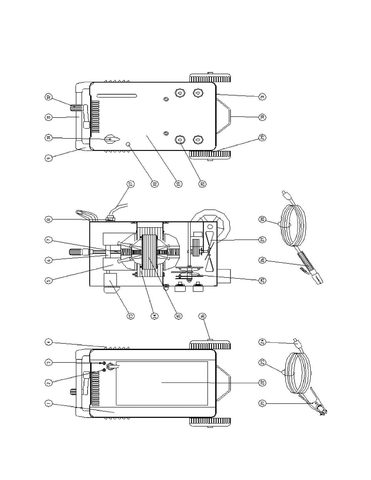
Figure 13: FP-235
23

Table of Contents

Related product manuals