EasyManua.ls Logo

FMI DVF36 - Fireplace Installation; Wall Switch Installation; Electrical Hookup for Optional Blower

Default Icon
36 pages
Print Icon
To Next Page IconTo Next Page
To Next Page IconTo Next Page
To Previous Page IconTo Previous Page
To Previous Page IconTo Previous Page
Loading...
www.fmiproducts.com
56131J 21
FIREPLACE INSTALLATION
-


Figure 36 - Removing Louver
Glass
Locating
Holes
Spring
Latch
Figure 35 - Wall Switch Wiring Diagram,
Millivolt Units
Note: If any of the original wire supplied must
be replaced, use type 18 AWG-105 degree C
(25 feet length maximum) or equivalent.
O
F
F
P
I
L
O
T
O
N
L
O
H
I
P
I
L
O
T
EA
16AI
7
TPTH TP TH
Wall Switch
(Supplied)
Route Millivolt Wires
(Supplied) Through Gas
Line Conduit Sleeve
To
Thermopile
V1
SW
SI
TS
IND
V2
L1
D
N
G
P .
Figure 34 - Wall Switch Wiring Diagram,
Electronic Units
Route 24V (Supplied)
Through Electrical Conduit
Bushing
Electrode
Transformer
Plug 120V AC
To Receptacle
18 AWG
Red Wire
To Gas Valve
Wall Switch
(Supplied)
Make Connections
with Wirenuts
(Supplied)
Ignition
Control
Module
(Back
View)
(Back
View)

OPTIONAL BLOWER ACCESSORY
Before blower accessory can be operated,
appliance outlet box must be properly con-
nected to a standard 120 VAC power source.
This must be done when appliance is origi-
nally installed. Refer to Wiring Diagrams on
page 33.
An outlet box with two receptacles has been
supplied for your convenience and is located
on the lower right side of appliance (see
Figure 37, page 22). The variable speed
controller is mounted on a magnetic base
and may be positioned anywhere within an
accessible distance behind louvered opening
(see Figure 36).
Recommended
Blower Speed
Control Location
O
F
F
P
I
L
O
T
O
N
L
O
H
I
P
I
L
O
T
E A
16AI
7
TPTH TP TH
V1
SW
SI
TS
IND
V2
L1
D
N
G
P.
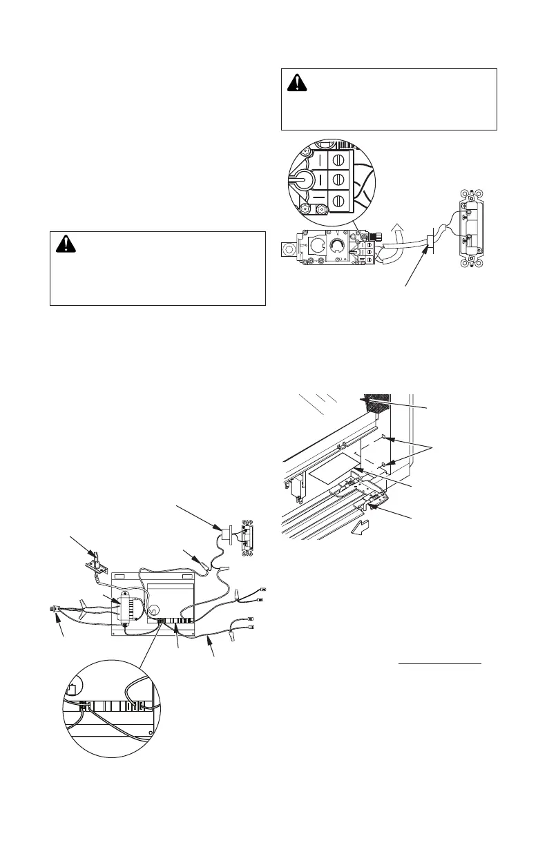
WALL SWITCH INSTALLATION
Since the (V)DVF36TPNEA/TSTEA series
uses a 24 VAC current supplied from a
transformer mounted on the ignition module
and is prewired for easy connection to a wall
switch (see Figure 34). The (V)DVF36TPNA/
TSTA models use a self generated millivolt
current that allows you to activate the gas
control valve directly without the use of normal
household electricity (see Figure 35). Both
versions are supplied with a wall switch kit
for ready connection and mounting.
WARNING: Do not wire re-

   -

1. To remove louvers, simultaneously pull
both top end spring latches towards center
of appliance until they are disengaged
from locating holes. Repeat for bottom
spring latches and pull louvers outward.
Reverse procedure to install louvers back
onto appliance (see Figure 36).
2. Connect 18 gauge wires from wall switch
to gas control valve terminals marked
TH and TPTH or to ignition module using
pigtails and wire nut connectors supplied
with appliance.

Related product manuals