EasyManua.ls Logo

FOSSIBOT F800 - Charge et Décharge Simultanées

FOSSIBOT F800
76 pages
Print Icon
To Next Page IconTo Next Page
To Next Page IconTo Next Page
To Previous Page IconTo Previous Page
To Previous Page IconTo Previous Page
Loading...
6
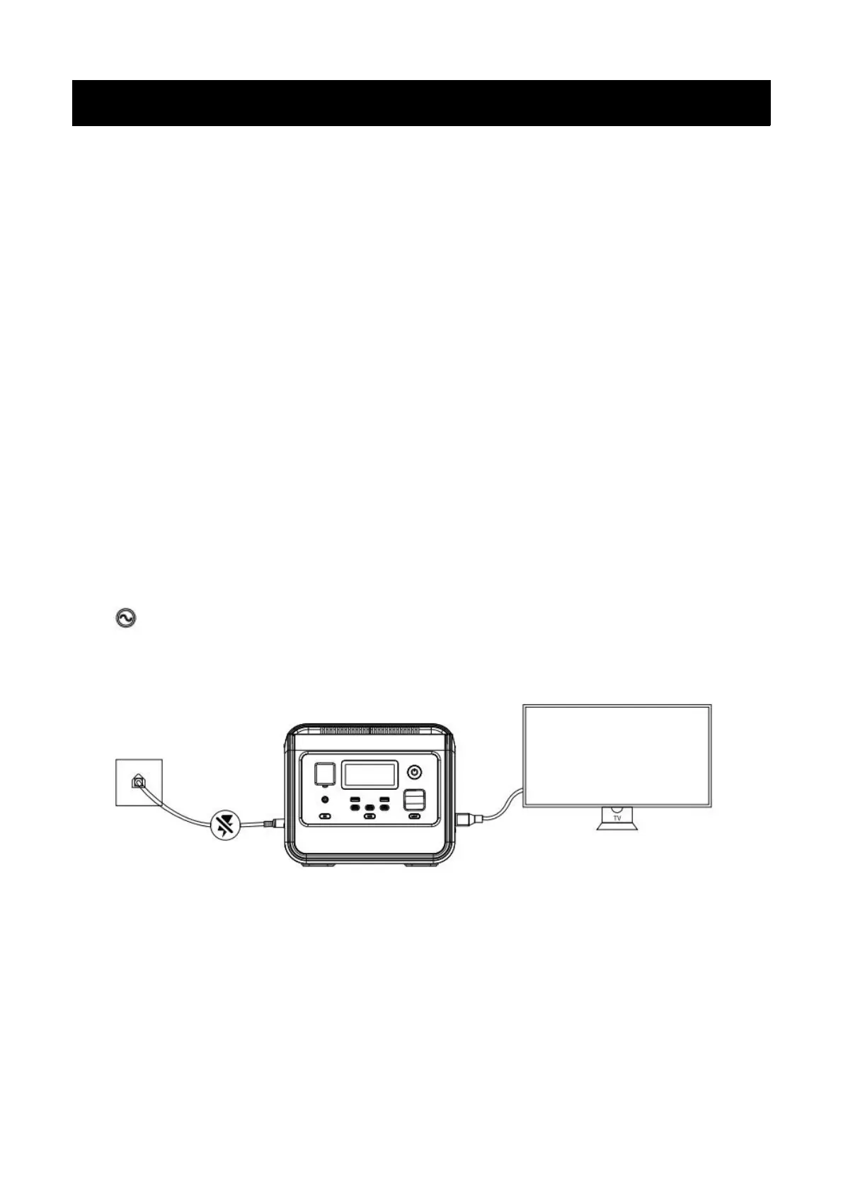
Charge et décharge simultanées
Fonction UPS
Ce produit a un mode de dérivation, il n'est pas nécessaire de passer par la batterie, et
peut être sorti directement de AC.
En mode UPS, lorsque l'alimentation AC est coupée en raison d'une panne de courant,
l'alimentation ac peut être automatiquement commutée sur l'alimentation de la
batterie du produit dans environ 10 ms pour garantir la sortie AC.
Connexions UPS
Connectez le produit entre la prise murale et l'appareil, comme le montre la figure
ci-dessous, et l'alimentation du produit est allumée. Lorsque vous mettez les appareils
sous tension, ils utilisent directement le courant alternatif du réseau électrique.
Dans cet état, lorsque le réseau électrique est coupé, il passe automatiquement sur
la batterie interne du produit pour fournir de l'énergie.
En mode UPS en Chine, au Royaume-Uni, en Europe et en Corée du Sud, la puissance maximale
de la sortie AC est inférieure à 800W, la sortie AC dépasse 800W, et l'icône de sortie AC
" "clignote pour indiquer une surcharge.
La fonction de charge et de décharge simultanée UPS ne peut fonctionner correctement que
lorsque le F800 est connecté à une prise AC.

Related product manuals