EasyManua.ls Logo

FOSSIBOT F800 - Gleichzeitiges Laden und Entladen

FOSSIBOT F800
76 pages
Print Icon
To Next Page IconTo Next Page
To Next Page IconTo Next Page
To Previous Page IconTo Previous Page
To Previous Page IconTo Previous Page
Loading...
Gleichzeitiges Laden und Entladen
USV-Funktion
Dieses Produkt verfügt über einen Bypass-Modus und braucht nicht durchzuschalten
Die Batterie kann die Stromversorgung direkt vom Wechselstrom ausliefern.
Beim USV-Modus, wenn die Wechselstrom-Eingangsleistung des Netzes wegen
eines Stromausfalls unterbrochen ist, schaltet innerhalb von 10 ms das Kraftwerk zur
der Wechselstrom-Eingangsleistung des Netzes automatisch um, eine ununterbrochen
Wechselstrom-Ausgang weiterzubieten
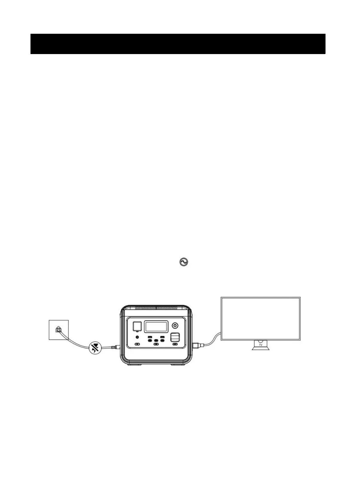
USV-Verbindungen
Wie in der unteren Abbildung gezeigt Schließen Sie das Produkt so an, dass das
Kraftwerk zwischen der Wandsteckdose und der Elektrogeräten. Schalten Sie auch
die Hauptschalter ein. Dann als Sie die Stromversorgung der Elektrogeräte
einschalten, verbrauchen die Elektrogeräte direkt den Wechselstrom aus dem
Stromnetz.
Auf diese Weise, schaltet die Stromversorgung der Elektrogeräte automatisch auf die
Wechselstrom-Ausgang des Kraftwerks um, falls das Stromnetz ausgeschaltet wird.
※In China, Großbritannien, Europa und Südkorea beträgt die maximale Wechselstromleistung
unter 800 W und die Wechselstromleistung übersteigt 800 W beim USV-Modus. Auf diesen
Fall blinkt dsa Wechselstromausgangssymbol , und stell eine Überbelastung dar
Die Funktion zum gleichzeitigen Laden und Entladen der USV kann nur so funktionieren, wenn
der F800 mit einem Wechselstromstecker verbunden ist

Related product manuals