EasyManua.ls Logo

Fostex D-108 - Handling Programs; Creating a new Program

Fostex D-108
141 pages
Print Icon
To Next Page IconTo Next Page
To Next Page IconTo Next Page
To Previous Page IconTo Previous Page
To Previous Page IconTo Previous Page
Loading...
35
D-108 Owner’s Manual (Handling Programs)
Handling Programs
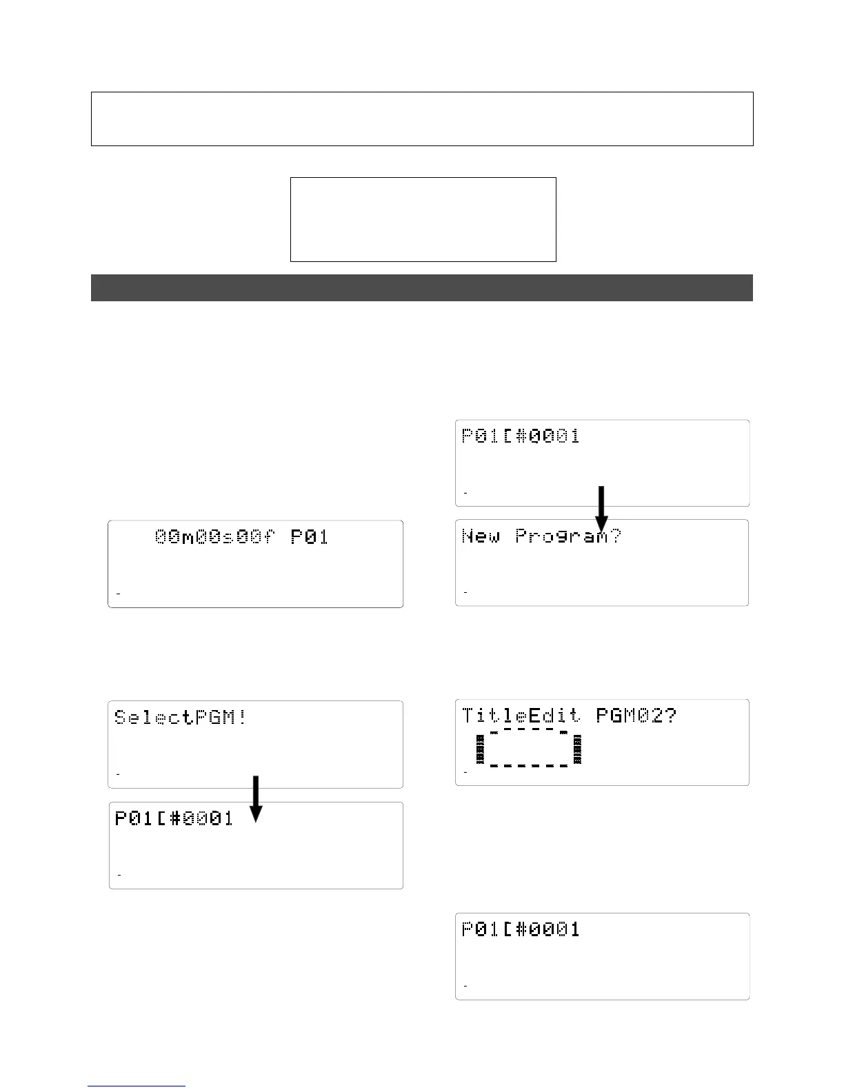
5. Press the EXECUTE/YES key again.
A default title (#0002) appears on the display, with [#]
and [SURE?] flashing. This means that you can enter a
name for the new Program.
If you wish to name the Program with a unique title,
continue the steps below.
In either case, you can change the title later, as explained
in “Editing a Program title.”
4. Press the EXECUTE/YES key.
The D-108 automatically enters [Title Edit PGM?] menu
in SETUP mode. You can enter a title for Program 2. ([?]
flash.) If you prefer the default name, press the EXIT/NO
key.
3. Turn the JOG dial clockwise.
The question marks [?] of [New Program?] and [SURE?]
flash. This indication asks you if you wish to set a new
Program (Program 2).
2. While holding down the HOLD/> key, press the
STORE key.
[Select PGM!] appears on the display briefly, then changes
to a flashing [01] of [P01] and [SURE?] flash. ([#0001] is
the default name of PGM 01.)
Creating a new Program
You can manage individual songs by setting multiple programs on the disk, as explained in the "Managing Songs
by Program Selection" section of the "Before Starting" chapter. You can set up to 99 Programs.
One Program is automatically created on the disk when the disk is newly formatted with this equipment.
Follow the steps below to create a new Program. The prerequisite of this operation is that the disk is in an "initial
state" where there is only one Program on the disk. With this operation the E-IDE harddisk is used as the current
drive and formatted in the [8 track mode].
This chapter explains how to handle Programs. It covers the following topics:
1. Creating a new Program
2. Using a Program Change function
3. Deleting a Program
4. Editing a Program title
1. Turn on the power to the D-108.
Upon starting up the D-108, [Initialize...]->[Current IDE
Drv]->[Harddisk model number]->[Storage mode ([8 track
mode] in this case)] messages are followed with an ABS
time base, then show the top of the Program (ABS 0).
At this time, the current Program is indicated as [P01].
44.1kHz
8
7
6
5
4
32
1
ABS
42
OL
0
30
24
18
12
9
6
3
44.1kHz
87654321
42
OL
0
30
24
18
12
9
6
3
44.1kHz
PGM
SURE?
87654321
42
OL
0
30
24
18
12
9
6
3
44.1kHz
PGM
SURE?
87654321
42
OL
0
30
24
18
12
9
6
3
44.1kHz
PGM
SURE?
87654321
42
OL
0
30
24
18
12
9
6
3
44.1kHz
SETUP
87654321
42
OL
0
30
24
18
12
9
6
3
44.1kHz
PGM
SURE?
87654321
42
OL
0
30
24
18
12
9
6
3

Table of Contents

Other manuals for Fostex D-108

Related product manuals