EasyManua.ls Logo

Fostex D-160 - Rear Panel I;O Connectors; Analog Input and Output Jacks; Digital Data Input;Output Connectors

Fostex D-160
196 pages
Print Icon
To Next Page IconTo Next Page
To Next Page IconTo Next Page
To Previous Page IconTo Previous Page
To Previous Page IconTo Previous Page
Loading...
D-160 Owner's Manual (Names and Functions)
23
40. Hard disk access LED
This LED lights up or blinks when the hard disk is writing or reading data.
<CAUTION>
Do not turn the power off while this LED is lit or blinking. Otherwise, data on the hard disk may
be damaged.
41. MIDI Time Code In LED [MTC IN]
This LED lights up when MTC (MIDI Time Code) is input from an external MIDI device to
the MIDI IN connector of the D-160.
42. Punch In/Out jack [PUNCH IN/OUT] (Connector: PHONE jack)
Connecting the optional foot switch will let you control punch In/Out (and rehearsal)
recording. Use a Fostex Model 8051 foot switch.
<Note>
Be sure to use an “unlatch type” foot switch if you use a foot switch other than the Model 8051.
Otherwise, a malfunction could occur.
* Refer to page "81" for information about Punch In/Out recording using the foot switch.
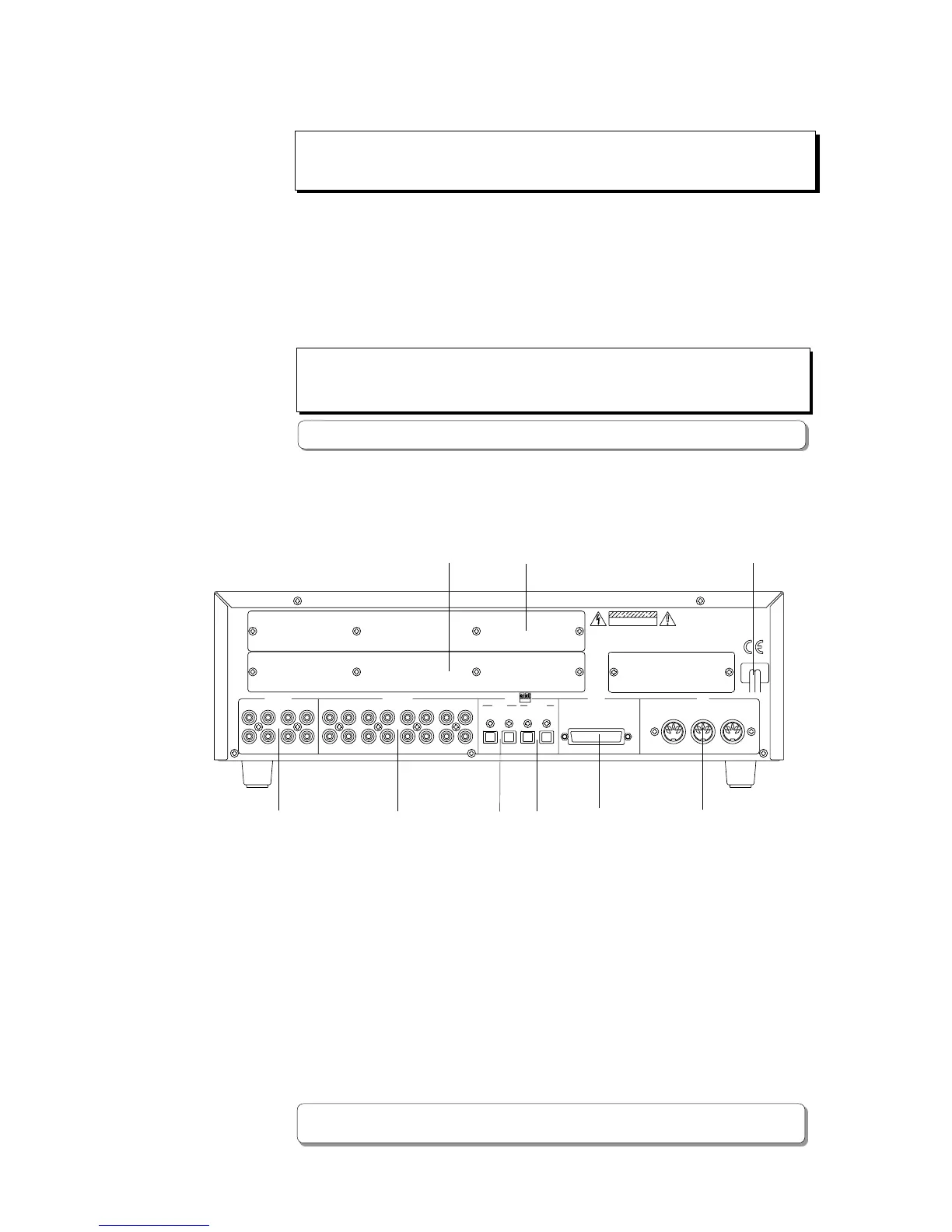
<Rear Panel>
50
49
51
48
47
43
44 45 46
43. Input jack [ANALOG IN 1-8]
(connector: RCA pin)
Analog audio signal from the mixer is routed here.
Connect this jack to the Group out (BUSS OUT) connector of the mixer.
44. Output jack [ANALOG OUT 1-16]
(connector: RCA pin)
Analog audio signal of the D-160 is output here.
Connect this jack to the TAPE IN connector of the mixer.
45. Data Input connector [DATA INPUT 1-8, 9-16]
(connector: OPTICAL)
Use this connector to load song data (audio + setup data) from an external device to the
D-160. It is also used to input S/P DIF digital signal (from a DAT, CD, or MD) or adat
digital signal (from RD-8, CX-8, or adat). DATA INPUT 9-16 is constantly fixed to "adat"
input.
* Refer to pages "102" and "165" for information about "LOAD" function.
* Refer to page "60" for information "Digital Recording."
9101112131415567816
1234567812
9~16 1~8 9~6
DATA
OUTPUTINPUT
1~8
OPTICAL
INPUT OUTPUT THRU
ANALOG IN
ANALOG OUT
SCSI MIDI
TO RAIN OR MOISTURE.
SHOCK. DO NOT EXPOSE THIS EQUIPMENT
TO REDUCE THE RISK OF FIRE OR ELECTRIC
WARNING:
NE PAS OUVRIR
:RISQUE DE CHOC ELECTRIQUE
AVIS
DO NOT OPEN
RISK OF ELECTRIC SHOCK
CAUTION
43

Table of Contents

Other manuals for Fostex D-160

Related product manuals