EasyManua.ls Logo

Friedrich FPHW091 - Page 26

Friedrich FPHW091
121 pages
Print Icon
To Next Page IconTo Next Page
To Next Page IconTo Next Page
To Previous Page IconTo Previous Page
To Previous Page IconTo Previous Page
Loading...
26 PB
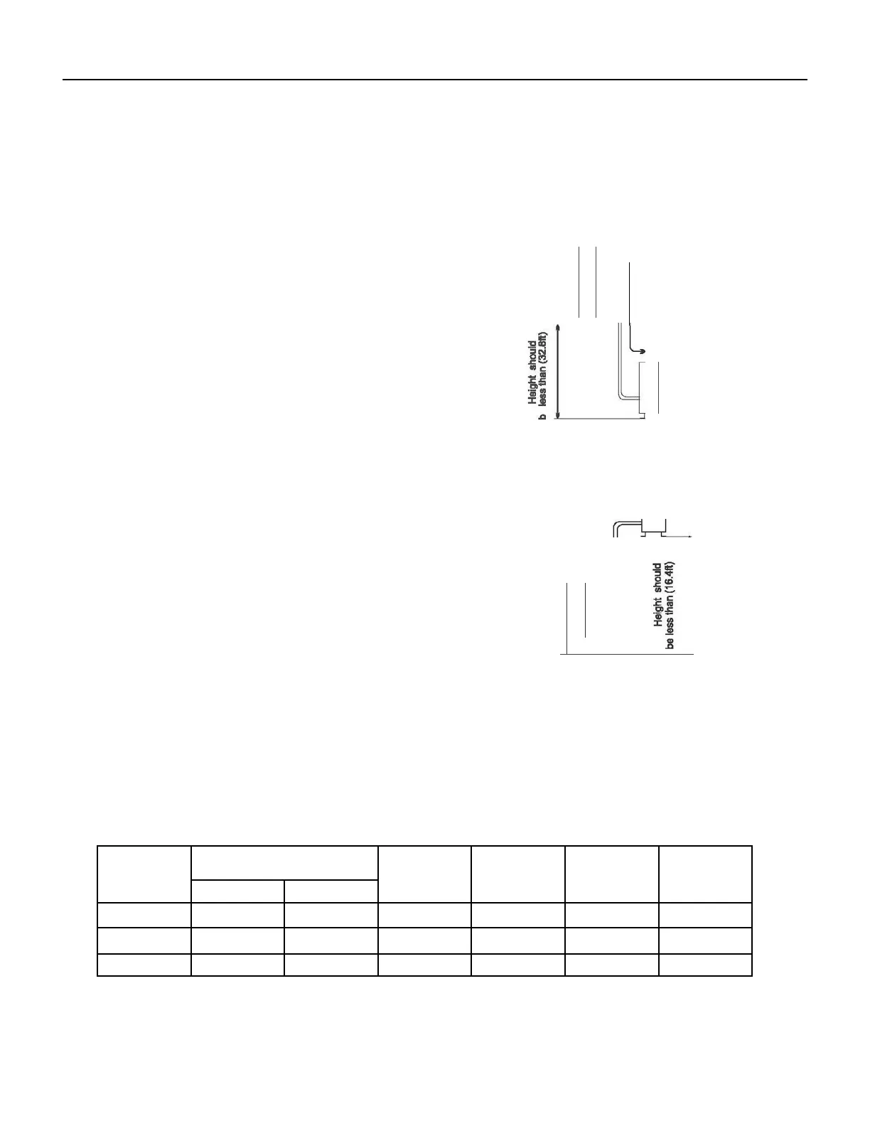
INSTALLATION
Capacity
(Btu/h)
Pipe Size Standard
Length (ft)
Max.
Elevation
B (ft)
Max. Length
A (ft)
Additional
Refrigerant
(oz/ft)
LIQUID GAS
9k‑12 1/4"(Ø6.35) 3/8"(Ø9.52) 24.5 33 49 .22
18k 1/4"(Ø6.35) 1/2"(Ø12.7) 24.5 33 49 .22
24k‑36k 3/8"(Ø9.52) 5/8"(Ø15.88) 24.5 33 49 .32




 









 






 
 


 

5

 













  
Figure 403
Figure 404

Table of Contents

Other manuals for Friedrich FPHW091

Related product manuals