EasyManua.ls Logo

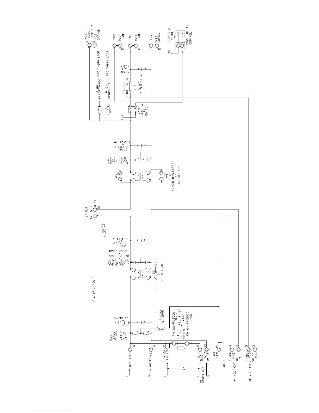
Friedrich MR30C3F - Outdoor Power Supply PCB Diagram

Friedrich MR30C3F
27 pages
Print Icon
To Next Page IconTo Next Page
To Next Page IconTo Next Page
To Previous Page IconTo Previous Page
To Previous Page IconTo Previous Page
Loading...
POWER SUPPLY PCB
K05CW-0503HUE-FL0
Model : MR30C3F
2006.02.22 12

Related product manuals