EasyManua.ls Logo

Fujitsu ASU 9RLF1 - Page 59

Fujitsu ASU 9RLF1
61 pages
Print Icon
To Next Page IconTo Next Page
To Next Page IconTo Next Page
To Previous Page IconTo Previous Page
To Previous Page IconTo Previous Page
Loading...
03-04
SET BACK
SU
MO
TU
WE
TH FR
SA
SU
MO
TU
WE
TH FR
SA
SU
MO
TU
WE
TH FR
SA
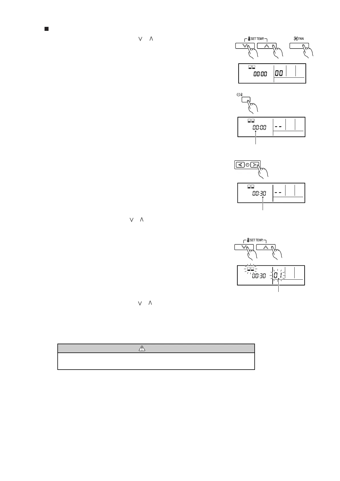
(1) Press the SET TEMP. buttons ( ) ( )
and FAN button simultaneously for more than
5 seconds to enter the function setting mode.
(2) Press the SET BACK button to select the indoor unit number.
(3) Press the Set time buttons to select the function number.
(4) Press SET TEMP. buttons ( ) ( ) to select the setting value.
The display flashes as shown to the right during setting value selection.
(7) After completing the FUNCTION SETTING, be sure to turn off the power and turn it on again.
(5) Press the TIMER SET button to confirm the setting.
Press the TIMER SET button for a few seconds until the
setting value stops flashing.
If the setting value display changes or if "- -" is displayed
when the flashing stops, the setting value has not been
set correctly.
(An invalid setting value may have been selected for
the indoor unit.)
(6) Repeat steps 2 to 5 to perform additional settings.
Press the SET TEMP. buttons ( ) ( ) and FAN button
simultaneously again for more than 5 seconds to cancel the function setting mode.
In addition, the function setting mode will be automatically canceled after 1 minute
if no operation is performed.
Unit number of Indoor unit
Function number
SU
MO
TU
WE
TH FR
SA
Setting value
FUNCTION SETTING METHOD (for Wired remote controller)
CAUTION
After turning off the power, wait 30 seconds or more before turning on it again.
The FUNCTION SETTING doesn't become effective if it doesn't do so.

Related product manuals