EasyManua.ls Logo

Future light Scan SC-740 - 8 Fehlermeldungen

Future light Scan SC-740
Print Icon
To Next Page IconTo Next Page
To Next Page IconTo Next Page
To Previous Page IconTo Previous Page
To Previous Page IconTo Previous Page
Loading...
15
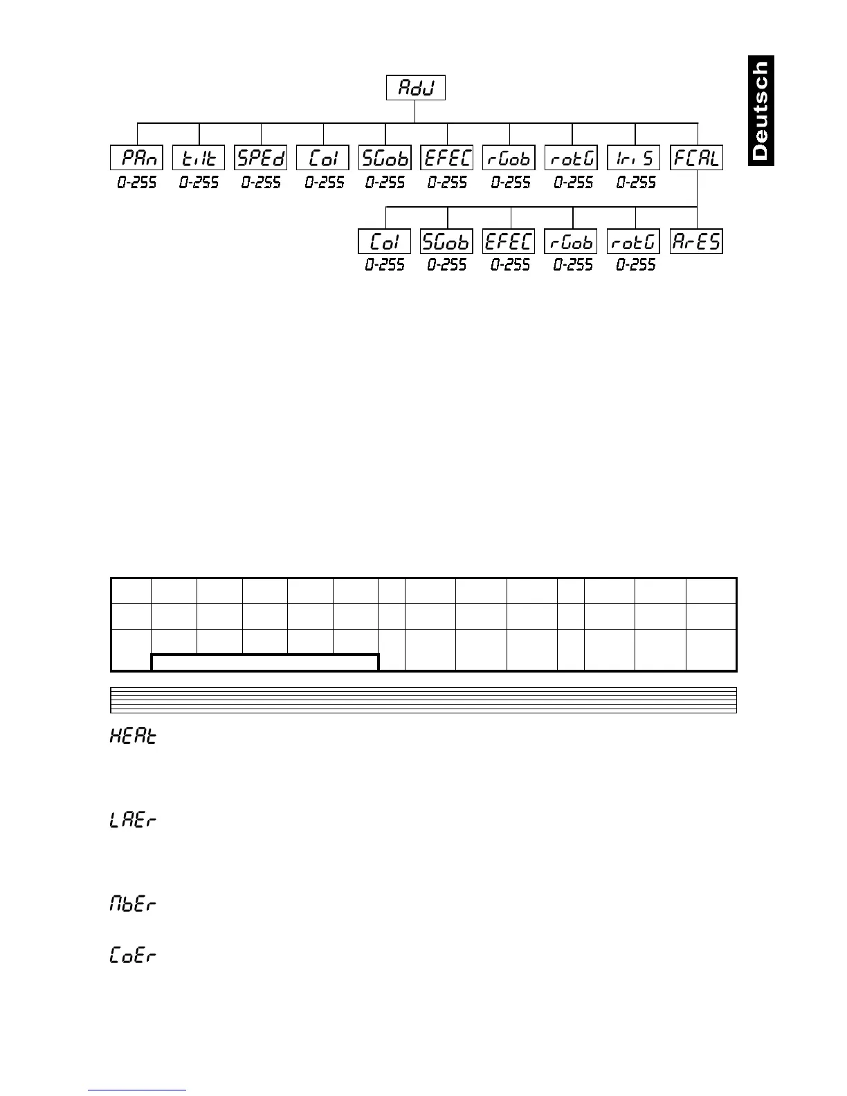
1. Kalibrieren über das Control Board
Drücken Sie die Enter-Taste und auf dem Display erscheint durch Drücken der Up-/Down-Tasten: "Col, Sgob,
EFEC, rGob, rotG" für sehr weiche Funktionskalibrierung. Wählen Sie eine dieser Funktionen über die Enter-
Taste um den richtigen Wert zwischen 0 und 255 einzugstellen. Drücken Sie die Enter-Taste zur Bestätigung
oder die Mode-Taste um abzubrechen. Diese Vorgehensweise läßt sich für jeden Kalibrierungsparameter
wiederholen. Sobald die Kalibrierungseinstellungen vorgenommen sind, muß die Funktion "ArES" gewählt
werden, um die eingestellten Werte in das EPROM zu übertragen und einen Reset auszuführen. Sobald der
Reset abgeschlossen ist, erscheint auf dem Display "FCAL". Drücken Sie die Enter-Taste, um die Kalibrierung
zu wiederholen oder die Mode-Taste, um zum "AdJ" Menü zurückzukehren.
2. Kalibrierung über den externen Controller
Drücken Sie die Enter-Taste und auf dem Display erscheint durch Drücken der Up-/Down-Tasten: "Col, Sgob,
EFEC, rGob, rotG" für sehr weiche Funktionskalibrierung. Wählen Sie eine dieser Funktionen über die Enter-
Taste aus. Jetzt können Sie die verschiedenen Räder über Ihren Controller kalibrieren. Das Kalibrierungsprotokoll
finden Sie untenstehend.
Nachdem Sie die benötigten Funktionen kalibriert haben und mit der Enter-Taste bestätigt haben, muß die
Funktion "ArES" gewählt werden, um die eingestellten Werte in das EPROM zu übertragen und einen Reset
auszuführen.
8. Fehlermeldungen
Diese Fehlermeldung erscheint, wenn Sie versuchen, die Lampe zu zünden bevor die 5 Minuten Abkühlzeit
verstrichen sind. Die Meldung erscheint, wenn die Lampe nach 20 Sekunden nicht gezündet hat. Der SC-740
speichert die Information wenn Sie vorzeitig versuchen, die Lampe zu zünden, und zündet die Lampe automatisch
nachdem die 5 Minuten verstrichen sind.
Nach 7 fehlerhaften Versuchen, die Lampe zu zünden, erscheint auf dem Display "LAEr". Dies bedeutet, daß
die Lampe beschädigt ist oder gar keine Lampe installiert ist oder ein interner Fehler vorliegt.
Bitte setzen Sie eine Lampe ein oder ersetzen Sie die defekte Lampe. Sollte ein interner Fehler vorliegen,
setzen Sie sich bitte mit Ihrem Fachhändler in Verbindung.
Diese Fehlermeldung erscheint, wenn die Kommunikation zwischen Hauptplatine und Control Board gestört
ist.
Fehler am Farbrad. Diese Fehlermeldung erscheint, wenn nach dem Reset die magnetisch-indizierte
Fehlfunktionen vorliegen (Photodiode defekt oder der Magnet fehlt) oder der Steppermotor defekt ist (oder
dessen Treiber auf der Hauptplatine). Dabei befindet sich das Farbrad nach dem Reset nicht in der
Vorgabeposition.
DMX
Channel
1 2 3 4 5 6 7 8 9 10 11 12 13
Function
COL. SGOB. EFEC. RGOB ROTG - COLOURS
GOBOS
STROBO
EFFECT -
ROTATING
GOBOS
GOBO
ROTATION
IRIS
CALIBRAT.
0 - 255
CALIBRAT.
0 - 255
CALIBRAT.
0 - 255
CALIBRAT.
0 - 255
CALIBRAT.
0 - 255
-
STANDARD
PROTOCOL
STANDARD
PROTOCOL
STANDARD
PROTOCOL
-
STANDARD
PROTOCOL
STANDARD
PROTOCOL
STANDARD
PROTOCOL
SMOOTH MICROSTEP MOVEMENT

Table of Contents

Related product manuals