EasyManua.ls Logo

Fysic FX-6000 - Display

Fysic FX-6000
52 pages
Print Icon
To Next Page IconTo Next Page
To Next Page IconTo Next Page
To Previous Page IconTo Previous Page
To Previous Page IconTo Previous Page
Loading...
4
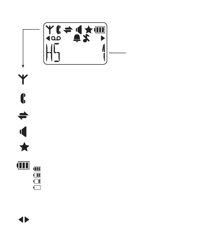
1.2 DISPLAY:
ashes when the connection between the handset and base is lost
remains lit when the handset is within range of the base
ashes when receiving an external call
remains lit during a call
ashes when receiving an internal call
remains lit during an intercom call
illuminates when the speaker function is enabled
illuminates when checking the Caller-ID memory and having new
calls
shows the status of the rechargeable batteries:
= batteries are full
= batteries are 2/3 full
= batteries are 1/3 full, recharge as soon as possible
= batteries are empty, the handset will switch off and you can no
longer make calls
the battery symbol will scroll while charging until the batteries are fully
charged
illuminates when the number is too long to be shown in the display
(press the # button to see the rest of the number)
handset name (HS) and
internal number (1)

Table of Contents

Related product manuals