EasyManua.ls Logo

G-Lab Guitar System Controller - Amps Control Connecting

G-Lab Guitar System Controller
18 pages
Print Icon
To Next Page IconTo Next Page
To Next Page IconTo Next Page
To Previous Page IconTo Previous Page
To Previous Page IconTo Previous Page
Loading...
10
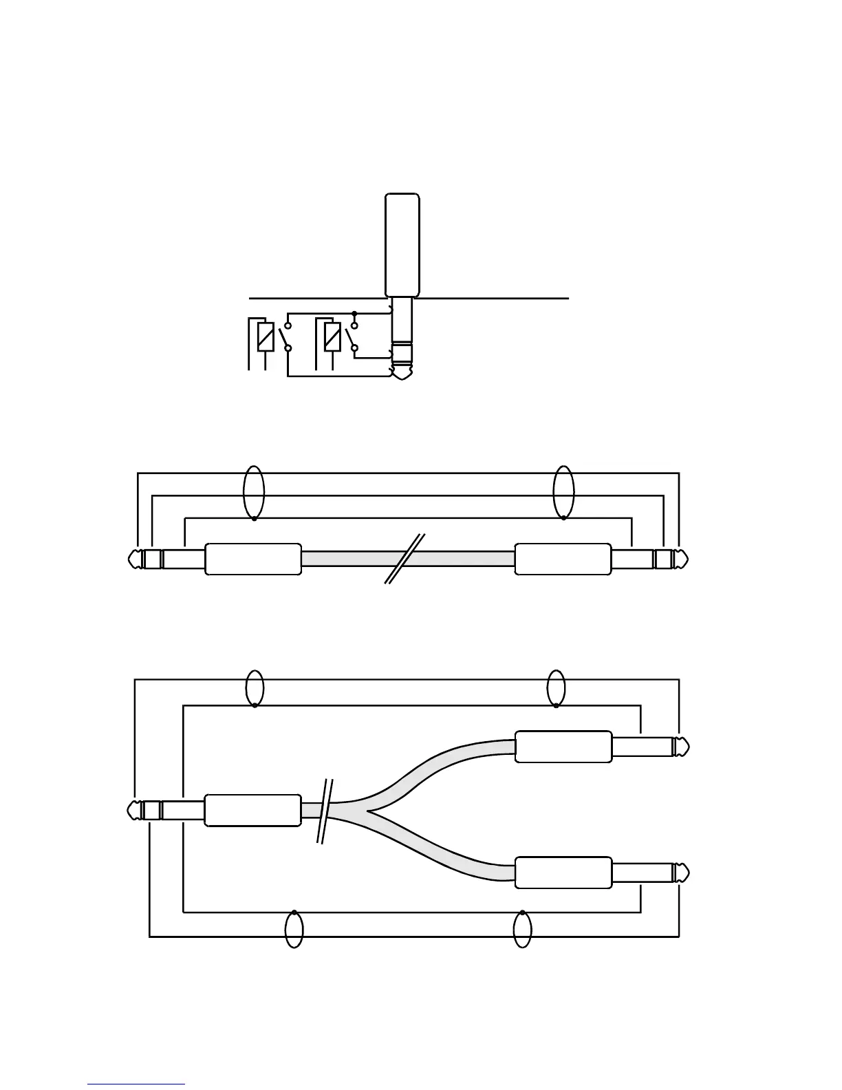
Amp’s control connecting
The GSC enables to set the selected amp settings (active channel and/or reverb on/off) by its
footswitch input (or inputs). SW1 to SW4 outputs work on the latching system principle. Majority of amps is
controlled in this way. SW1&2 and SW3&4 outputs’ circuit diagram is shown below. SW1 to SW4 lit
indicators mean short-cutting of the adequate relay’s contacts. Contact a manufacturer or an authorised
service point to check if the particular amp’s model can be controlled in this way.
OUT
SW1&2
or
Sleeve
OUT
SW3&4
Ring
Tip
When this way of amp’s control is possible and it is equipped with stereo Jack ¼’ connector (or
connectors) the connection should be done using stereo Jack/Jack cable.
Sleeve
Ring
Tip
When this way of amp’s control is possible and it is equipped with mono Jack ¼’ connector (or connectors)
the connection should be done using Y type cable.
Sleeve Sleeve
SleeveSleeve
Ring
Tip
Tip
Tip