EasyManua.ls Logo

Garbin TZ S - Wiring Diagram

Default Icon
70 pages
Print Icon
To Next Page IconTo Next Page
To Next Page IconTo Next Page
To Previous Page IconTo Previous Page
To Previous Page IconTo Previous Page
Loading...
TRENCHER TZ S
Use and maintenance instructions – Spare parts Via L.da Vinci,32/B
Rev. 01.2013 - EN (translation of the original instructions)
38
36034 Malo (VI) Italy
T E Z A
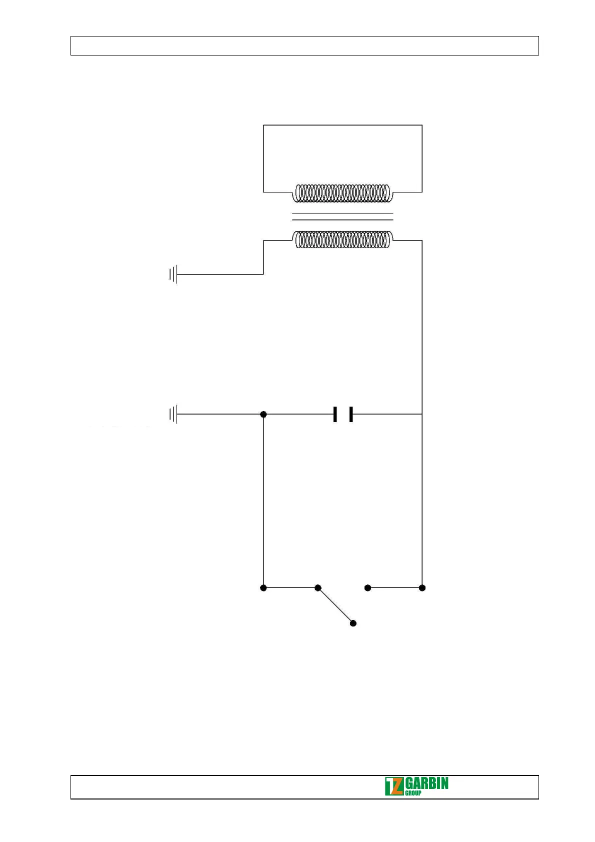
7.14- WIRING DIAGRAM
COIL
SPARK PLUG
STOP

Table of Contents

Related product manuals