EasyManua.ls Logo

GE 040309-0 - Control Panel Components; Control Panel Exploded View and Parts List

GE 040309-0
7 pages
Print Icon
To Next Page IconTo Next Page
To Next Page IconTo Next Page
To Previous Page IconTo Previous Page
To Previous Page IconTo Previous Page
Loading...
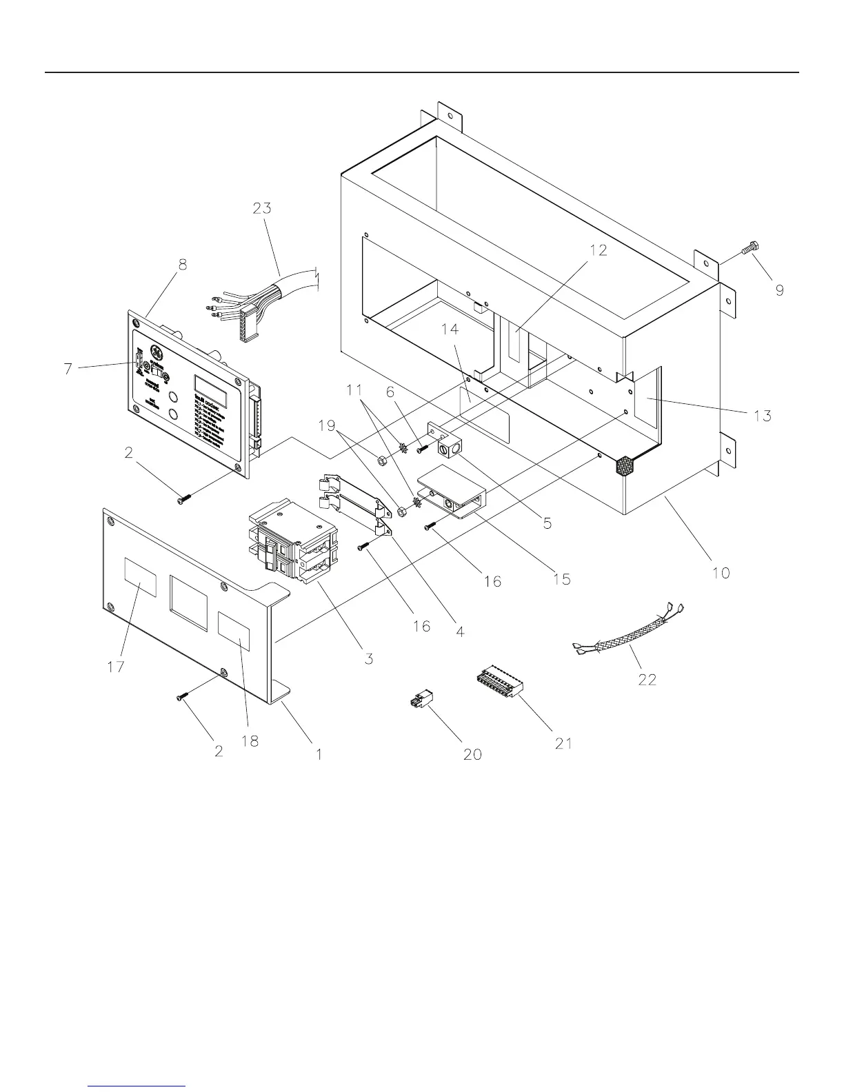
6
Item Part # Description
1 198911GS COVER (Includes #17 & 18)
2 75475GS SCREW
3 311318GS BREAKER-CIRCUIT 100A
4 192770GS BRACKET
5 199011GS LUG
6 * PPHMS-M6 - 1.0 x 16
7 198573GS FUSE
8 207176GS BOARD-CONTROL
9 * HHCS-1/4 - 20 x 3/4
10 209435GS DUCT
11 * WASHER-SHAKEPROOF M6 1/4
12 198549GS DECAL
13 209387GS DECAL
14 205393GS DECAL
15 208365GS BLOCK-TERMINAL
Item Part # Description
16 * PPHMS-M4 - 0.7 x 16
17 205394GS DECAL
18 205395GS DECAL
19 * NUT-1/4 - 20
20 198515GS CONNECTOR- 2 PIN
21 198516GS CONNECTOR- 10 PIN
22 198517GS HARNESS- WIRING
23 202882GS HARNESS- WIRING
Part Not Illustrated
203020GS HARNESS-WIRING AVR
* - Items without part numbers are common fasteners and are
available at local hardware stores.
Exploded View and Illustrated Parts List - Control Panel

Related product manuals