EasyManua.ls Logo

GE AE0CD10AM - Funciones del Control Remoto

GE AE0CD10AM
56 pages
Print Icon
To Next Page IconTo Next Page
To Next Page IconTo Next Page
To Previous Page IconTo Previous Page
To Previous Page IconTo Previous Page
Loading...
40
Apoyo al cliente
Consejos para la
solución de problemas
Instrucciones de
funcionamiento
Instrucciones de
seguridad
Instrucciones de
instalación
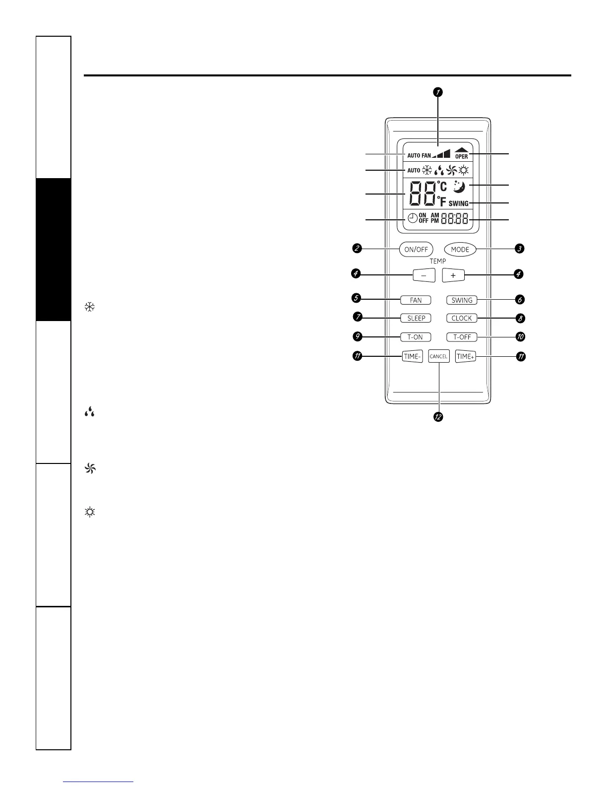
Sobre el control remoto del sistema
.
El control remoto transmite las señales al sistema.
Las características y apariencia pueden variar.
Configuración
de ventilador
Modo
Temperatura
Configuración
de temporizador
Encendido y
apagado
Operación
Modo apagado
automático
encendido
Modo giro
encendido
Reloj y
temporizador
AUTO (automático)—En este modo, la unidad
controla automáticamente la temperatura
ambiente dentro del rango de 77 ºF y 68 ºF.
El ventilador funciona sin interrupción mientras
la unidad se encuentra en el modo AUTO
(automático). Cuando la temperatura ambiente
supera los 77 ºF, la unidad pasa al Modo COOL
(frío). Cuando la temperatura ambiente desciende
a 73 ºF, el ventilador sigue funcionando pero
el Modo COOL (frío) se apaga. Cuando la
temperatura desciende por debajo de los 68 ºF,
la unidad acciona el Modo HEAT (calor). Cuando la
temperatura alcanza los 73 ºF, el ventilador sigue
funcionando pero el Modo HEAT (calor) se apaga.
NOTA: Esta configuración de rango de
temperatura no puede ajustarse y no se verá en
pantalla.
COOL (frío)—Úselo para enfriar la habitación
con la temperatura deseada configurada
entre 61 ºF y 86 ºF.
NOTA: La unidad no brindará una
refrigeración óptima si la temperatura
exterior es menor a 60 ºF. En ciertas
condiciones, la unidad puede activar
el ciclo de protección anticongelante
por aproximadamente 5 minutos para
quitar el hielo de la bobina de interior.
DRY (secar)—Úselo para deshumidificar la
habitación. El ventilador funcionará a una
velocidad baja fija para brindar una máxima
deshumidificación. La temperatura puede
configurarse entre 61 ºF y 86 ºF.
FAN (ventilador)—Utilícelo para encender (ON)
y apagar (OFF) la operación de sólo ventilador.
No podrán utilizarse los modos COOL (frío),
HEAT (calor) o DRY (secar).
HEAT (calor) (en modelos equipados con
dicha característica)Úselo para calentar
la habitación con la temperatura deseada
configurada entre 61 ºF y 86 ºF.
NOTA:
La unidad no brindará una calefacción
óptima si la temperatura exterior es menor a
14 ºF. En ciertas condiciones, la unidad puede
activar el ciclo de protección anticongelante por
aproximadamente 8 minutos para quitar el hielo
de la bobina de exterior. Durante este ciclo, es
normal oír sonidos de funcionamiento, tales
como el flujo de refrigerante dentro del sistema
.

Table of Contents

Related product manuals