EasyManua.ls Logo

GE JKP76GP - Using Your Lower Oven; Oven Shelves and Positions

GE JKP76GP
56 pages
Print Icon
To Next Page IconTo Next Page
To Next Page IconTo Next Page
To Previous Page IconTo Previous Page
To Previous Page IconTo Previous Page
Loading...
LOWER OVEN
Using Your Lower Oven
Your oven is designed to give
best results in baking, roasting
and broiling when used as
recommended.
Before using it, look at the
directions in this book for setting
its electronic controls. Look at the
shelves. Take a practice run at
removing and replacing them.
Oven Light
The light comes on automatically
when the door is opened and turns
off when the door is closed. The
OVEN LIGHT pad on the lower
oven control panel overrides the
automatic oven light operation.
You may use the pad to turn the
light on when the door is closed.
Note: The oven light will turn off
automatically and cannot be
operated while the oven is
self-
cleaning.
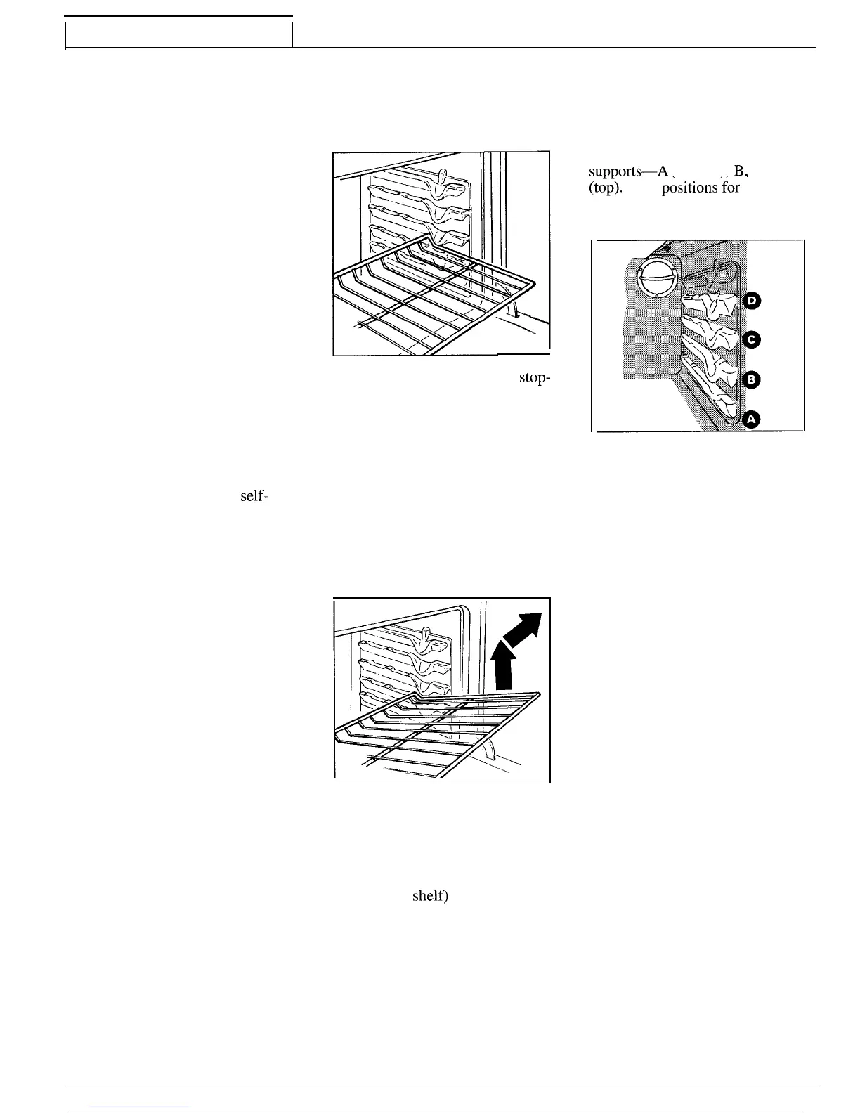
Oven Shelves
The shelves are designed with
stop-
locks so when placed correctly on
the shelf supports, they will stop
before coming completely out of
the oven and will not tilt when you
are removing food from them or
placing food on them.
When placing cookware on a shelf,
pull the shelf out to the “stop”
position. Place the cookware on
the shelf, then slide the shelf back
into the oven. This will eliminate
reaching into the hot oven.
To remove the shelves
from the
oven, pull them toward you, tilt
front end upward and pull them out.
To replace, place shelf on shelf
support with stop-locks (curved
extension of
shelfl
facing up and
toward rear of oven. Tilt up front
and push shelf toward back of
oven until it goes past “stop” on
oven wall. Then lower front of
shelf and push it all the way back.
Shelf Positions
The oven has four shelf
su~~orts—A
(bottom).
B.
C and D
(t~~).
Shelf
positions’for
cooking
are suggested on Baking and
Roasting pages.
34

Related product manuals