EasyManua.ls Logo

GE PCS915 - Oven Controls and Modes

GE PCS915
32 pages
Print Icon
To Next Page IconTo Next Page
To Next Page IconTo Next Page
To Previous Page IconTo Previous Page
To Previous Page IconTo Previous Page
Loading...
12
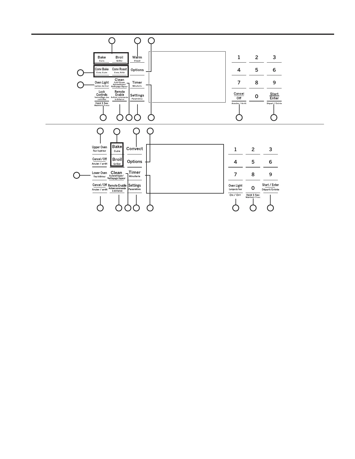
USING THE RANGE: Oven Controls
Oven Controls
1
8
2 3
7 54 6
9
10 11
12
13
2
13
7 54 98
1
6
10
11
12
Models PCS915 - PCS940
Models PCS980
1. Convection Cooking Modes: Convection
cooking mode uses increased air circulation to
improve performance. See the Cooking Modes
section for more information.
2. Traditional Cooking Modes: Your oven has
has the following traditional cooking modes: Bake
and Broil. See the Cooking Modes section for more
information.
3. Warm: Will keep hot, cooked foods at serving
temperature. See the Cooking Modes section for
more information.
4. Clean: Your oven has two cleaning modes: Self
Clean and Steam Clean. See the Cleaning the Oven
section for important information about using these
modes.
5. Start/Enter: Must be pressed to start any
cooking, cleaning, or timed function.
6. Cancel/Off: Cancels ALL oven operations
except the clock, timer and warming drawer.
7. Timer: Works as a countdown timer. Press the
Timer pad and use the number pads to program the
time in hours and minutes. Press the Start/Enter
pad. The oven will continue to operate when the
timer countdown is complete. To turn the timer off,
press the Timer pad.
8. Oven Light: Turns the oven light on or off.
9. Lock Controls: Locks out the control so that
pressing the pads does not activate the controls.
Press the Lock Controls pad, for three seconds
to lock or unlock the control. Cancel/Off is always
active, even when the control is locked.
10. Remote Enable: Allows you to control your
oven remotely. To be able to start the oven remotely,
press the Remote Enable pad and “Remote” will be
lit in the display. The oven can now be remotely
started with a connected device. Opening the oven
door or pressing the Remote Enable pad will remove
“Remotefrom the display and prevent you from being
able to turn the oven on remotely. If “Remote” is not
shown in the display, you are still able to change the
oven settings or turn the oven off. AFter using the
oven, remember to verify that the “Remote” icon is
displayed if you wish to start the oven remotely in
the future. For instructions on how to connect your
oven, see the WiFi Connect section of this manual.
11. Settings: See the Settings section for more information.
12.
13. Upper Oven and Lower Oven:
Designates
which oven the controls will operate. Select an oven
before following the steps for starting a cooking or
cleaning mode.
Options: See the Options section for more
information.

Related product manuals