EasyManua.ls Logo

GE ve735am - Allgemeine Informationen

GE ve735am
80 pages
Print Icon
To Next Page IconTo Next Page
To Next Page IconTo Next Page
To Previous Page IconTo Previous Page
To Previous Page IconTo Previous Page
Loading...
8. Allgemeine Informationen
Hinweis: Stellen Sie zunächst mithilfe des PIR-DIP-Schalters 1 die
passende aktive Polarität der Steuerspannung ein. Der Melder befindet
sich im Scharfbetrieb, wenn die passende Steuerspannung an Klemme
10 angelegt wird. Er befindet sich im Unscharfbetrieb, wenn die
Steuerspannung getrennt wird.
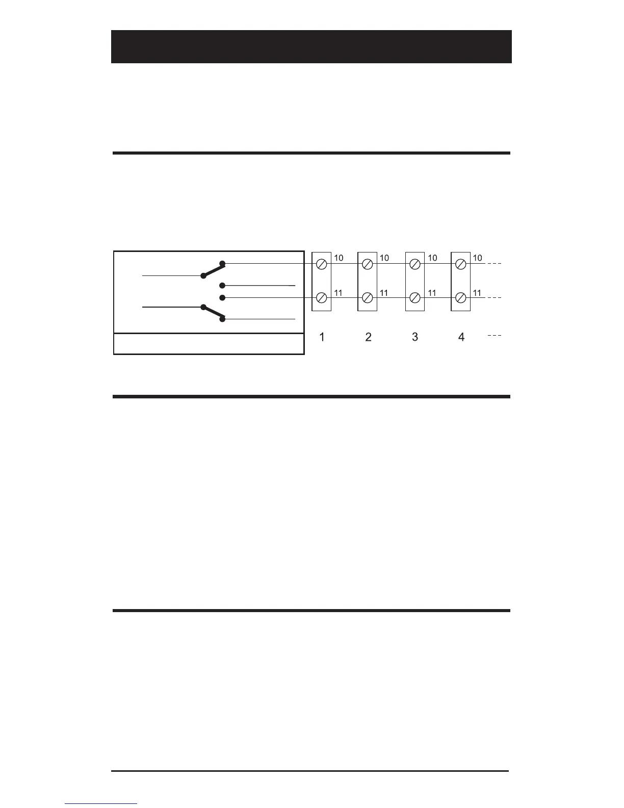
A) Alarmspeicher
Wenn mehrere Melder in einer einzelnen Meldegruppe verwendet werden,
verkabeln Sie die Anschlussklemmen für Scharf/Unscharf und Gehtest,
wie in Abbildung
dargestellt.
B) Aktivieren/Deaktivieren der Gehtest-LED von einem
entfernten Standort (EMZ) aus (Abb.
)
Schalten Sie den Melder in den Unscharfbetrieb und aktivieren Sie den
Gehtest-Modus. Die Melder-LED leuchtet auf, während das Alarmrelais sich
öffnet; sie geht aus, wenn das Relais geschlossen wird. Der Gehtest kann
jetzt durchgeführt werden.
Um die Gehtest-LED ohne eine Steuerspannung zu aktivieren, setzen Sie
DIP-Schalter 4 in die Position Ein. Setzen Sie nach dem Gehtest den DIP-
Schalter 4 in die Position Aus.
Es wird empfohlen, in regelmäßigen Abständen einen Gehtest für den
Melder durchzuführen und die Kommunikation mit der Einbruchmeldezentrale
zu überprüfen.
C) Einstellen des Alarmspeichers (Abb. )
Im Unscharfbetrieb zeigt eine blinkende LED an, welche(r) Melder einen
Alarm während des Scharfbetriebs ausgelöst hat bzw. haben.
Wenn wieder in den Scharfbetrieb umgeschaltet wird, wird der Speicher
gelöscht und die LED ausgeschaltet.
Wenn Sie lediglich den Gehtest aktivieren, wird dadurch der Alarmspeicher
nicht gelöscht. Wenn Sie den Gehtest auf Aus schalten, wird eine Anzeige
zu den gespeicherten Alarmen erneut erscheinen.
Scharf/Unscharf
Gehtest
Scharf
Unscharf
An
Aus
Einbruchmeldezentrale
Steuerspannung
Bewegungsmelder
- 69 -

Table of Contents

Related product manuals