EasyManua.ls Logo

GE Vivid 3 - Page 188

GE Vivid 3
317 pages
Print Icon
To Next Page IconTo Next Page
To Next Page IconTo Next Page
To Previous Page IconTo Previous Page
To Previous Page IconTo Previous Page
Loading...
GE MEDICAL SYSTEMS
D
IRECTION 2300164-100, REVISION 7 VIVID™ 3 PRO/VIVID™ 3 SERVICE MANUAL
5-14 Section 5-1 - Overview
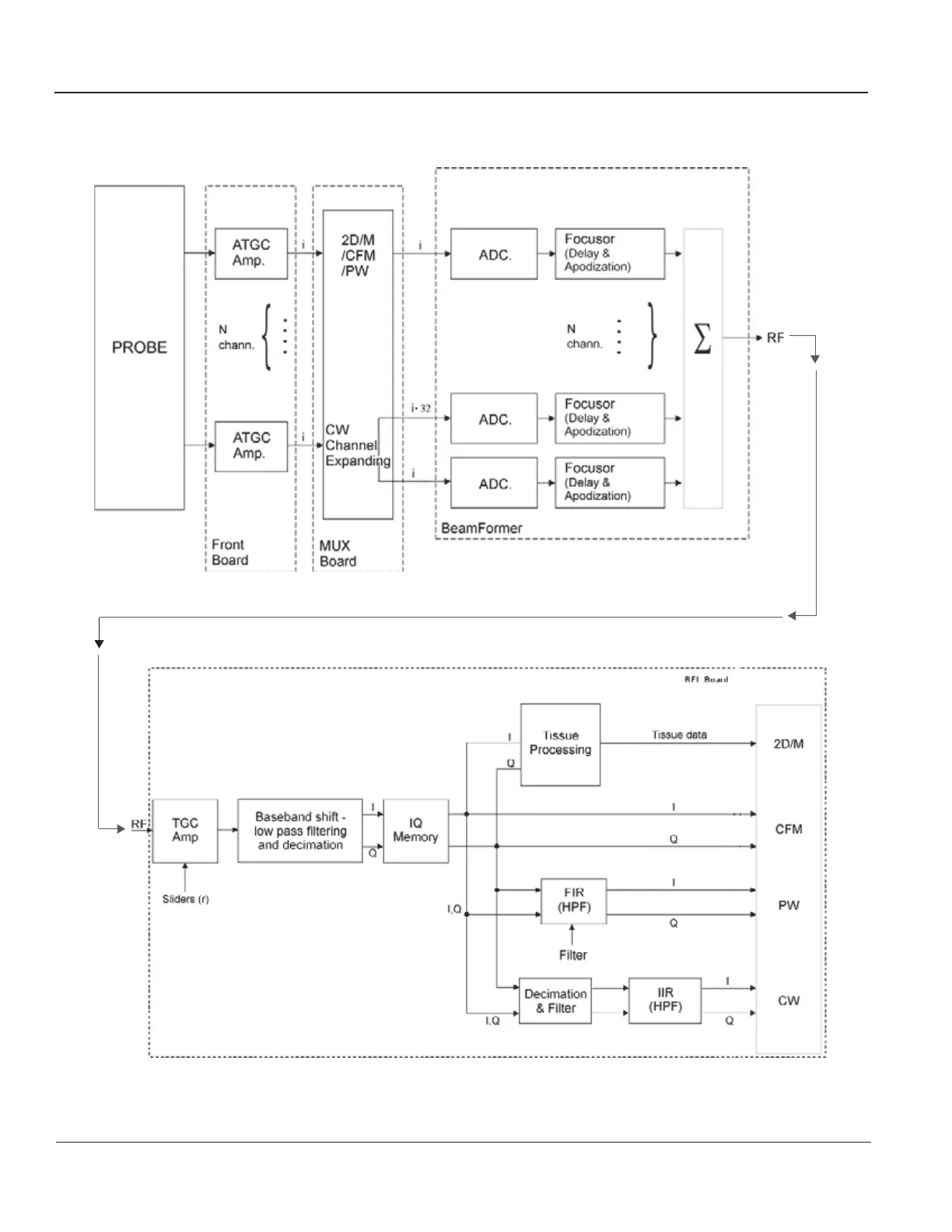
Figure 5-7 Received Signal Path Block Diagram - Systems with RFI Configuration
Artisan Technology Group - Quality Instrumentation ... Guaranteed | (888) 88-SOURCE | www.artisantg.com

Table of Contents

Other manuals for GE Vivid 3

Related product manuals