EasyManua.ls Logo

GEL DECAL - Monobloc DECALUX Model Installation

Default Icon
Print Icon
To Next Page IconTo Next Page
To Next Page IconTo Next Page
To Previous Page IconTo Previous Page
To Previous Page IconTo Previous Page
Loading...
60
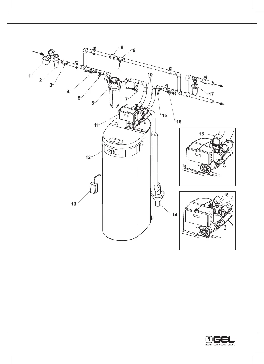
9.3 - INSTALLATION OF THE MONOBLOC MODEL - DECALUX
1) Water meter
2) Pressure reducer (only if necessary)
3) Check valve
4) On-off valve before the system
5) Tap for raw water sample taking
6) Sand filter
7) Filtered water offtake for other uses
8) Pipe union fitting
9) By-pass gate valve
10) Flexible hose fittings or vibration-damping joints
11) Softener head
12) Cabinet softener
13) Plug 230V – 50/60 Hz
14) Drain
15) Tap for softened water sample taking
16) On-off valve after the system
17) Anti-scale dosing unit (for boiler protection)
18) Mixing valve
Automatic mixing valve
Manual mixing valve
Water supply
entry
to the
boiler
to the
system

Table of Contents

Related product manuals