EasyManua.ls Logo

Goodman AMES800603A - Page 15

Goodman AMES800603A
53 pages
Print Icon
To Next Page IconTo Next Page
To Next Page IconTo Next Page
To Previous Page IconTo Previous Page
To Previous Page IconTo Previous Page
Loading...
SYSTEM OPERATION
15
Proper Chimney
Termination?
(Check 1)
Line, terminate with
listed vent cap
(Fix 1)
No
Yes
Chimney channel
free of solid and
liquid fuel
appliances?
(Check 2)
Change venting
arrangements
(Fix 2)
No
Yes
Crown in good
condition
(Check 3)
Rebuild crown
(Fix 3)
and/or Reline
(Fix 4)
Yes
No
Yes
No
No
Reline
(Fix 4)
Reline
(Fix 4)
Cleanout free of
debris?
(Check 4)
Liner in good
condition?
(Check 5)
Yes
Yes
No
Reline
(Fix 4)
Dilution air
available?
(Check 6)
Complete the
installation.
(Check 7)

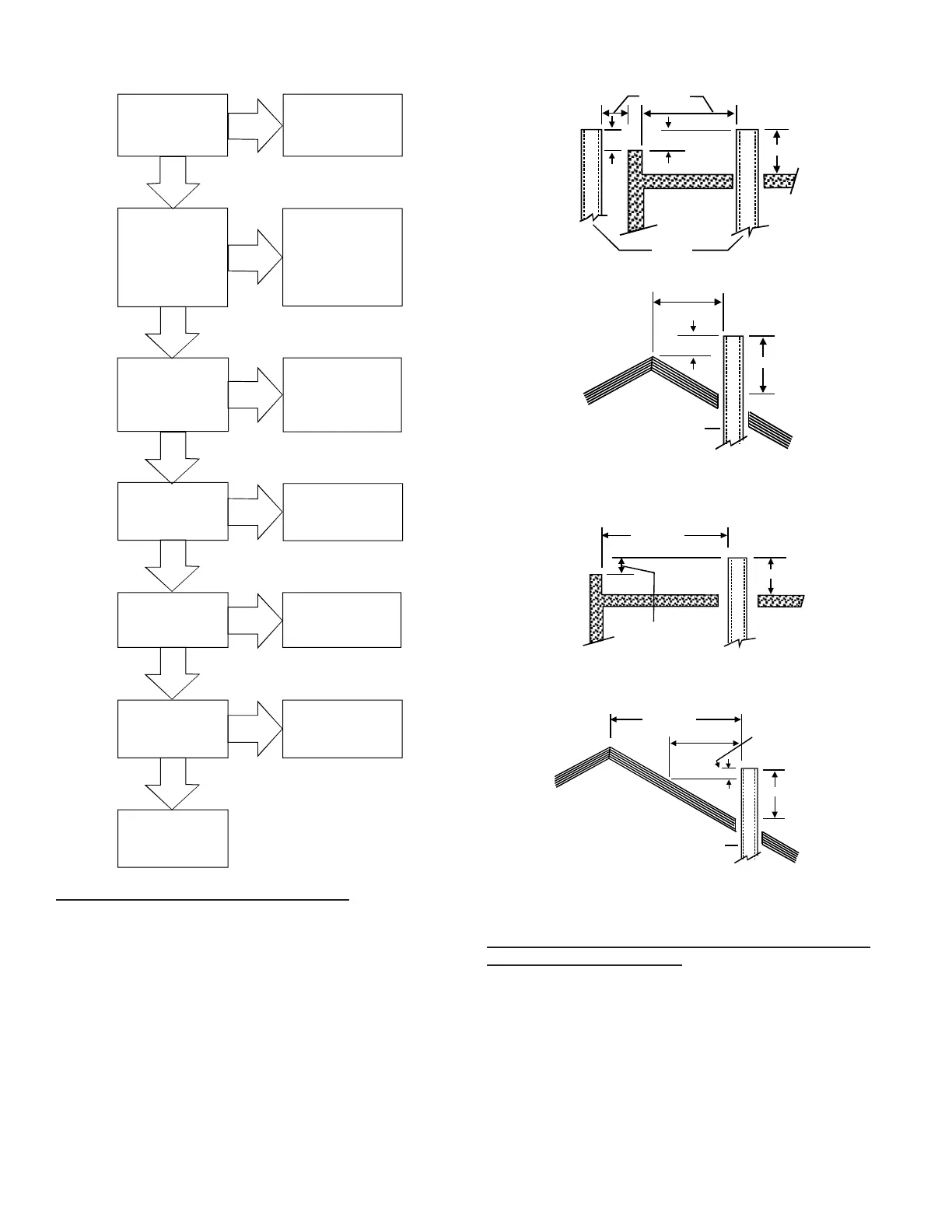
A masonry chimney used as a vent for gas red equipment
must extend at least three feet above the highest point where it
passes through the roof. It must extend at least two feet higher
than any portion of a building within a horizontal distance of
10 feet. In addition, the chimney must terminate at least 3 feet
above any forced air inlet located within 10 feet. The chimney
must extend at least ve feet above the highest connected
equipment draft hood outlet or ue collar.
If the chimney does not meet these termination requirements,
but all other requirements in the checklist can be met, it may
be possible for a mason to extend the chimney. If this will not
be practical, see Fix 1.
2' Min.
2' Min.
3' Min.
10' or Less
Wall or
Parapet
Chimney
Ridge
2' Min.
10' or Less
3' Min.
Chimney
-

Wall or
Parapet
Chimney
: No Height
above parapet
required when distance
from walls or parapet is
more than 10 feet.
More than 10'
3' Min.
Ridge
3' Min.
Chimney
2' Min.
More than 10'
10'
Height above any
roof surface within
10 feet horizontally.




Solid fuel appliances include replaces, wood stoves, coal
furnaces, and incinerators.
Liquid fuel appliances include oil furnaces, oil-red boilers
and oil-red water heaters.
Appliances which burn propane (sometimes referred to
as LP (liqueed petroleum)) gas are considered gas-red
appliances.

Related product manuals