EasyManua.ls Logo

Gorenje Cooling - Uputstva Za Rad; Opis

Gorenje Cooling
Print Icon
To Next Page IconTo Next Page
To Next Page IconTo Next Page
To Previous Page IconTo Previous Page
To Previous Page IconTo Previous Page
Loading...
46
UPUTSTVA ZA RAD
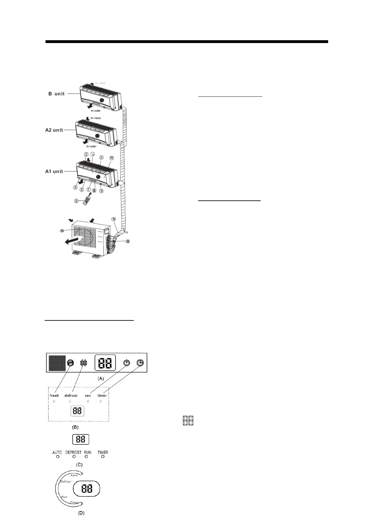
Opis
Unutrašnja jedinica
1. Čeona ploča
2. Ulaz vazduha
3. Filter za vazduh
4. Izlaz vazduha
5. Vodoravna rešetka za protok
vazduha
6. Vertikalni zaklopac za protok
vazduha
7. Prikaziv
8. Led ekran
9. Daljinski upravljač
10. Dugme ručno upravljanje
Spoljašnja jedinica
11. Priključna cev razhladne tečnosti
12. Ulaz vazduha (sa strane i pozadi )
13. Izlaz vazduha
NAPOMENA:
Sve slike u ovim uputstvima
namenjene su samo za ilustraciju
uredjaja. Vaš klimatski uredjaj može
biti drugačiji od prikazanog. Važeći je
stvarni oblik.
Kontrolne sijalice na prikazivaču
Prikazivač na unutrašnjoj jedinici:
Kod modela namenjenih samo za hladjenje (jedinica 21000 Btu/h), kontrolna sijalica 2 je SAMO
VENTILATOR.
Unutrašnja jedinica
Spoljašna jedinica
jedan-dvije/tri tip
Kontrolno svjetlo VREMENSKI PROGRAM (TIMER):
Kontrolno svjetlo svijetli kada je vremenski program podešen
na UKLJUČENO/ISKLJUČENO.
Kontrolno svjetlo ODMRZAVANJE (DEFROST):
(samo modeli za hlađenje i grijanje):
Kontrolno svjetlo svijetli kada klima-uređaj pokrene
automatsko odmrzavanje ili kada je za vrijeme ogrijevanja
aktivirana funkcija upravljanja toploga zraka.
DIGITALNI ZASLON:
Za vrijeme rada klima-uređaj prikazuje trenutno podešenu
temperaturu. U slučaju pogreške javlja kôd pogreške.
Kontrolno svjetlo RUN se osvetli, ko svijetli kada klima-uređaj
radi.
AUTO Indikator svijetli kad je klima uređaj u automatskom
načinu rada.
Indikator čistog zraka (FRESH) se osvijetli, kadar je funkcija
pročistača i ionizatorja aktivna.

Table of Contents

Related product manuals