EasyManua.ls Logo

Gorenje Cooling - Upute Za Djelovanje; Opis

Gorenje Cooling
Print Icon
To Next Page IconTo Next Page
To Next Page IconTo Next Page
To Previous Page IconTo Previous Page
To Previous Page IconTo Previous Page
Loading...
26
UPUTE ZA DJELOVANJE
Opis
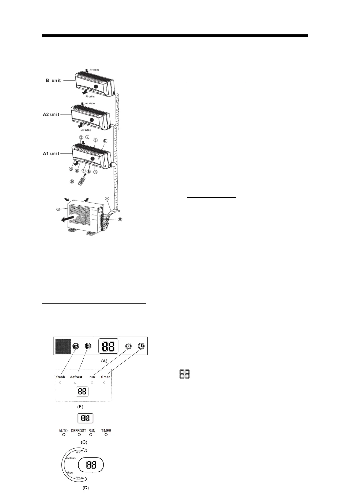
Unutrašnja jedinca
1. Čelna ploča
2. Ulaz zraka
3. Zračni filter
4. Izlaz zraka
5. Vodoravna rešetka za protok
zraka
6. Okomiti zaklopac za protok
zraka
7. Prikazivač
8. Led zaslon
9. Daljinski upravljač
10. Tipka za ručno upravljanje
Vanjska jedinca
11. Priključna cijev, odvodna cijev
12. Ulaz zraka (sa strane i straga)
13. Izlaz zraka
OPOMENA:
Sve slike u ovim uputama su
namijenjene samo slikovitom
prikazivanju uređaja. Vaš
klimatski uređaj može biti je drugačiji
od prikazanog. Uvažava se stvarni
oblik.
Kontrolne lampice na prikazivaču
Prikazivač na unutrašnjoj jedinici:
Kod modela namijenjenih samo hlađenju
(jedinca 21000 Btu/h), je kontrolna lampica 2
SAMO VENTILATOR.
Kontrolno svjetlo VREMENSKI PROGRAM (TIMER):
Kontrolno svjetlo svijetli kada je vremenski program
podešen na UKLJUČENO/ISKLJUČENO.
Kontrolno svjetlo ODMRZAVANJE (DEFROST):
(samo modeli za hlađenje i grijanje):
Kontrolno svjetlo svijetli kada klima-uređaj pokrene
automatsko odmrzavanje ili kada je za vrijeme
ogrijevanja aktivirana funkcija upravljanja toploga
zraka.
DIGITALNI ZASLON:
Za vrijeme rada klima-uređaj prikazuje trenutno
podešenu temperaturu. U slučaju pogreške javlja kôd
pogreške.
Kontrolno svjetlo RUN se osvetli, ko svijetli kada
klima-uređaj radi.
AUTO Indikator svijetli kad je klima uređaj u
automatskom načinu rada.
Indikator čistog zraka (FRESH) se osvijetli, kadar je
funkcija pročistača i ionizatorja aktivna.
Unutrašnja jedinica
Vanska jedinica
Ena-dve/tri tip

Table of Contents

Related product manuals