EasyManua.ls Logo

Graco 206405 - Page 14

Graco 206405
24 pages
Print Icon
To Next Page IconTo Next Page
To Next Page IconTo Next Page
To Previous Page IconTo Previous Page
To Previous Page IconTo Previous Page
Loading...
14 306531
Air Motor Service
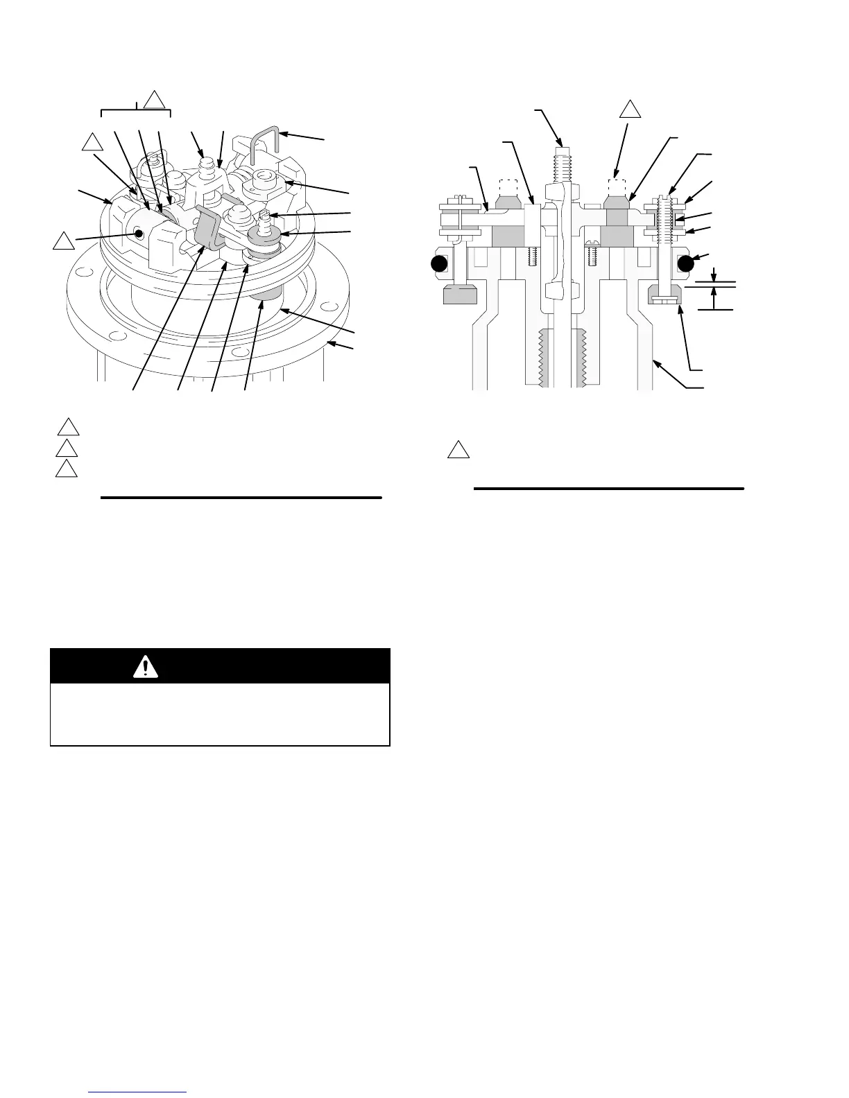
Fig. 7
M
28
54
34
33
45
33 45
59
55
30 37
32
L
5358
31
04118
1
1
To remove toggles: push in, swing up, ease out.
Push toggles (M) in and then up (shown in down position).
2
3
2
Turn wires up.
3
Fig. 8
0.145”
(3.7 mm)
Cutaway View
45
33
54
58
35
32
33
45
53
59
36
1
04119
1
Cut off tops of poppets as indicated by dotted lines.
10. Remove the lockwires (34) from the adjusting
nuts (33) of the transfer valves. Screw the top
nuts off. Screw the poppet valve stems (45) out of
the grommets (32) and the bottom nuts (30). Take
the valve poppets off the stems and squeeze them
firmly to check for cracks. See Fig. 7.
WARNING
To reduce the risk of pinching or amputating your
fingers, always keep fingers clear of the toggle
assemblies (M).
11. Grip the pivot pins (30) with pliers. Compress the
springs (31), and swing the toggle assembly (M)
up and away from the piston lugs (L). Remove the
parts. Check to see that the valve actuator (35) is
supported by the spring clips (58) but slides easily
into them. See Fig. 7.
12. Remove the trip rod yoke (28), actuator (35) and
trip rod (54). See Fig. 7. Check the exhaust valve
poppets (53) for cracks. To remove the exhaust
valve poppets (53), stretch them out and cut them
with a sharp knife.
13. Remove one muffler plate (20 or 40). Pull the
piston (59) up out of the base. Remove the throat
packing nut (42) and packings. See Fig. 6.
Reassembly
1. Clean all the parts in a compatible solvent and
inspect for wear or damage. Check the polished
surfaces of the piston (59), piston rod (41), and
cylinder wall (51) for scratches or wear. A scored
rod will cause premature packing wear and leak-
ing. Use all the repair kit parts and replace other
parts as necessary.
2. Lubricate all parts with a light, waterproof grease.
3. One at a time, install these parts in the base (55):
the gland (49*), five v-packings (48*) with lips
facing down, bearing (50*), backup washer (43),
flat packing (44*), and loosely screw in the packing
nut (42). Be sure the o-rings (38 & 39) are in
place. See Fig. 6.
4. Pull the exhaust valve poppets (53) into the valve
actuator (35) and clip off the top part shown with
dotted lines. See Fig. 8.
5. Install the grommets (32) in the valve actuator
(35). Install the trip rod (54) in the piston (59).
Place the trip rod yoke (28) and valve actuator (35)
on the trip rod. Be sure the o-ring (36*) is in place
and that the valve actuator is supported by the
spring clips (58), and reassemble the valve
mechanism. See Fig. 7.

Related product manuals