EasyManua.ls Logo

Graco 210-208 - Page 7

Graco 210-208
12 pages
Print Icon
To Next Page IconTo Next Page
To Next Page IconTo Next Page
To Previous Page IconTo Previous Page
To Previous Page IconTo Previous Page
Loading...

Service
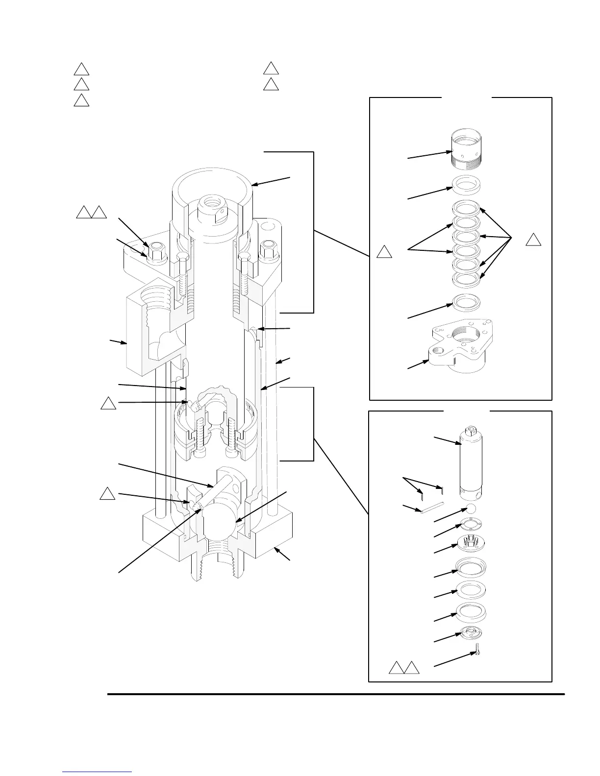
Fig. 1
4
2
3
1
5
06644
13
14
41
36
Lower Holes
1
1
28
*15
42
18**
38
32
24*
39
23
T
orque to 50–60 ft-lb (68–81 N
Sm)
T
ighten in a criss-cross pattern
THROAT
PISTON
39
47
*46
*44
41
45*
4
4
Lips of V
-packings must face down
36
*15
28
†16
49
43
*31
30
*31
35
25
53
T
orque to 30–40 ft-lb (41–54 N
Sm)

Related product manuals