EasyManua.ls Logo

Graco RTX 1500 - Grounding Requirements

Graco RTX 1500
24 pages
Print Icon
To Next Page IconTo Next Page
To Next Page IconTo Next Page
To Previous Page IconTo Previous Page
To Previous Page IconTo Previous Page
Loading...
Switch
Moto
r
White Wire
Bla
ck Wire
Power Cord
Green
Wire (GND)
Switch
Moto
r
Power Cord
Green
Wire (GND)
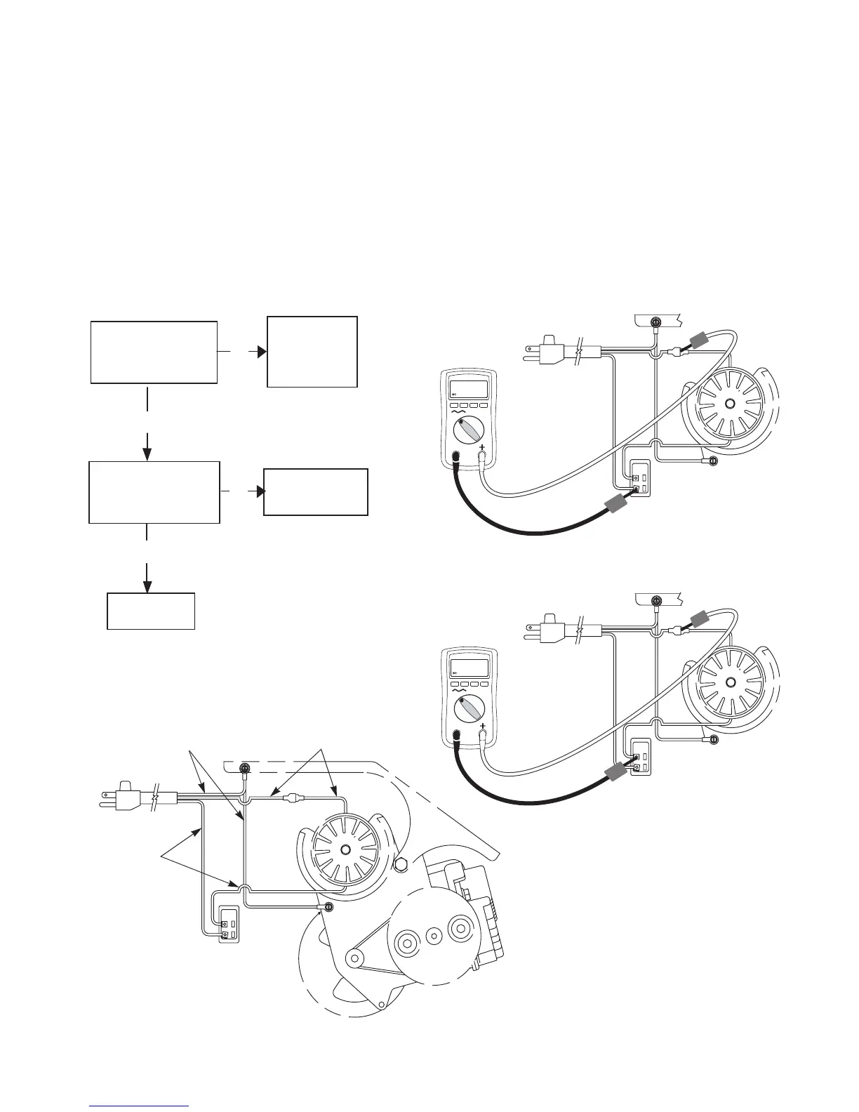
Step 1
110-120 AC
V
--
++
Power switch ON.
Cord plugged in.
Meter on AC Volts
--
Switch
Moto
r
Power Cord
Green
Wire (GND)
Step 2
110-120 AC
V
--
++
Power switch ON.
Cord plugged in.
Meter on AC Volts
--
NO
See step 2. Do you have
o
ver 100 AC volts?
YES
See step 1.Do you have
over 100 AC volts?
YES
Repair or
replace the
power Cord.
Replace the
power switch.
Replace Motor
NO
Black
Bla
ck
Bla
ck
Bla
ck
Green
White
White
Green
Green
White
White
Green
Motor will not run.
RTX 900, 1250 and TX 90, 125
11

Other manuals for Graco RTX 1500

Related product manuals