EasyManua.ls Logo

Gree JKFD5DQS/Na-E - Page 41

Gree JKFD5DQS/Na-E
53 pages
Print Icon
To Next Page IconTo Next Page
To Next Page IconTo Next Page
To Previous Page IconTo Previous Page
To Previous Page IconTo Previous Page
Loading...
GREE Air-ccoled Closed Control Unit Service Manual
38
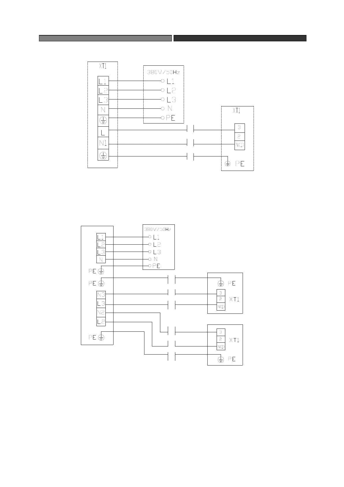
Power Supply Terminals
of The Indoor Unit
Input Power Supply
Power Supply Terminals
of The Outdoor Unit
Patchboard
Patchboard
Brown
Blue
Yellow/Green
Blue
Brown
Yellow/Green
JKFD7XXX JKFD13XXX JKFD19XXX
Power Supply Terminals
of The Indoor Unit
Input Power Supply
Power Supply Terminals
of The Outdoor Unit 2
Power Supply Terminals
of The Outdoor Unit 1
Yellow/Green
Yellow/Green
Blue
Brown
Brown
Blue
Patchboard
Patchboard
Patchboard
Patchboard
XT1
XT2
JKFD25XXXJKFD40XXX(Dual circuit)
ТОО "Everest climate", Р. К., г.Алматы | Телефон: +7 727 230 00 10, +7 777 250 10 90 | www.aircon.kz, e-mail: info@aircon.kz

Related product manuals