EasyManua.ls Logo

Grifco C21D-2 - Controller Interface and Connections

Default Icon
20 pages
Print Icon
To Next Page IconTo Next Page
To Next Page IconTo Next Page
To Previous Page IconTo Previous Page
To Previous Page IconTo Previous Page
Loading...
11
CONTROLLER INTERFACE
The eDrive +2.0 can be interfaced by the reverse side of the controller push buon panel.
To do so you will need terminal blocks (P/N TB210) available from your local commercial door dealer or Chamberlain®.
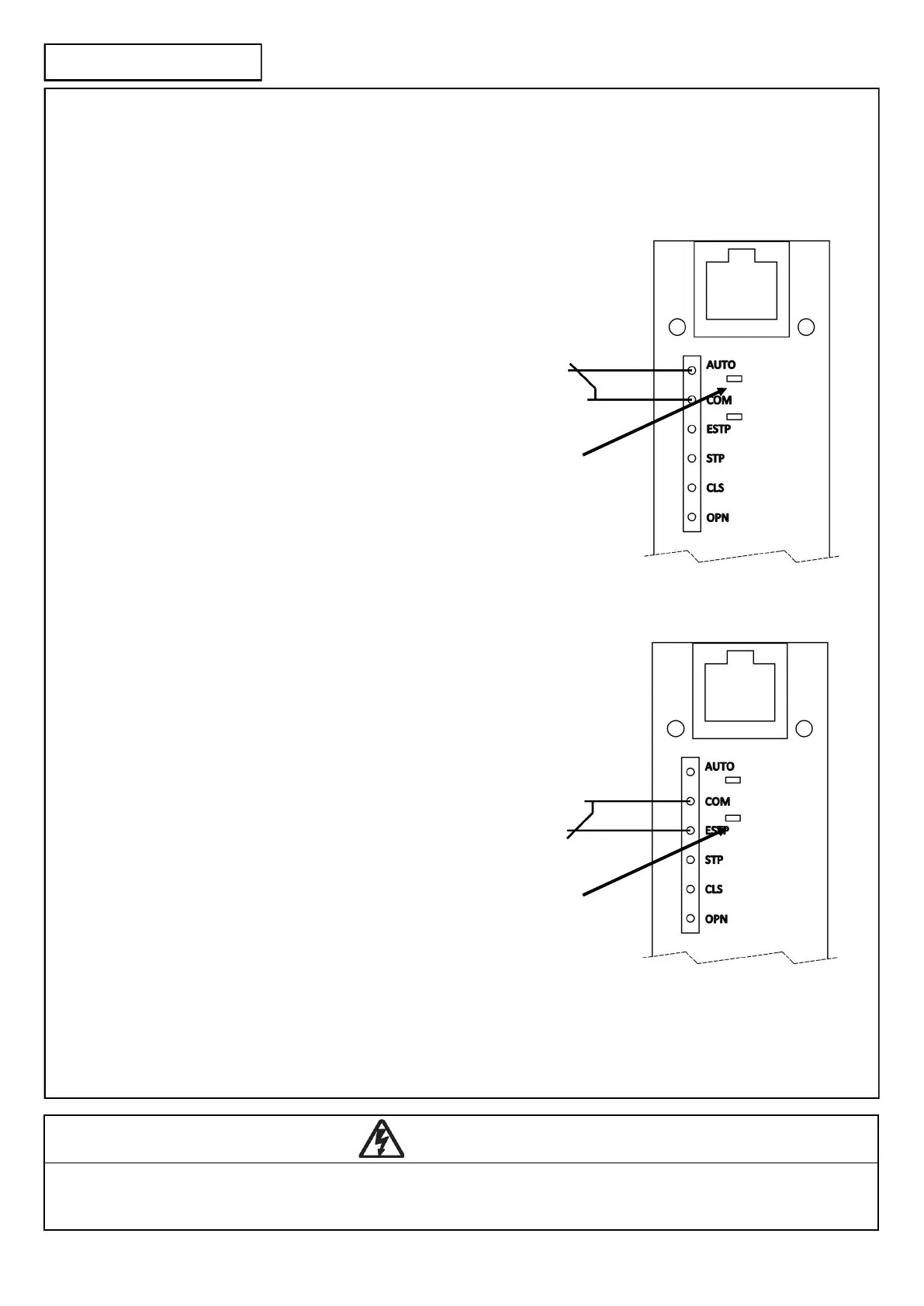
Key Switch C10A variants ulise these connecons to enable the key switch isolaon.
AUTO:
The C10A rear panel has a resistor (R9 Auto Bridge) that creates
a permanent closed contact between COM and AUTO terminals.
To enable the use of the AUTO only funcon, this resister must
be removed.
Once the resistor is removed, the C10A front control panel is
disabled, leaving only remote controls and other control inputs
connected to either the EB1 (if ed) or the rear of the C10A, or
MCB toggle inputs to operate the opener.
Note:
The STOP buon will always be operable.
OPN and CLS inputs connected to the rear of the C10A are acve.
A normally closed contact (i.e an Auto/Manual key switch) must
then be connected to the AUTO and COMM terminal to enable
the C10A front panel
ESTOP (Emergency Stop):
The C10A rear panel has a resistor (R1 ESTP Bridge) that creates
a permanent closed contact between COM and ESTP terminals.
To enable the use of the Emergency Stop funcon, this resister
must be removed.
Once the resistor is removed, the C10A front control panel and
all AUTO inputs are disabled.
The opener will sll have power but all operaons are now
disabled
A normally closed contact (i.e an OFF/ON key switch) must then
be connected to the ESTP and COMM terminal to enable the
C10A front panel and all AUTO funcons
WARNING
C10A rear panel terminals are voltage free.
Do not connect any voltage to these terminals.
Remove R9
Auto Bridge
Normally
Closed
X
R9 AUTO
BRIDGE
R1 ESTP
BRIDGE
Remove R1
ESTP Bridge
Normally
Closed
X
R9 AUTO
BRIDGE
R1 ESTP
BRIDGE

Related product manuals