EasyManua.ls Logo

Ground Zero NUCLEAR Series - Controls and functions

Ground Zero NUCLEAR Series
9 pages
Print Icon
To Next Page IconTo Next Page
To Next Page IconTo Next Page
To Previous Page IconTo Previous Page
To Previous Page IconTo Previous Page
Loading...
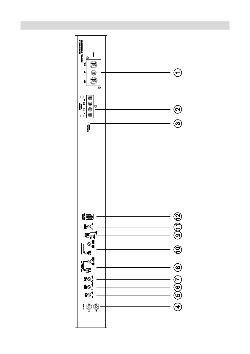
Controls and functions
4

Other manuals for Ground Zero NUCLEAR Series

Related product manuals