EasyManua.ls Logo

Häfele DL7900 - Page 18

Häfele DL7900
32 pages
Print Icon
To Next Page IconTo Next Page
To Next Page IconTo Next Page
To Previous Page IconTo Previous Page
To Previous Page IconTo Previous Page
Loading...
18
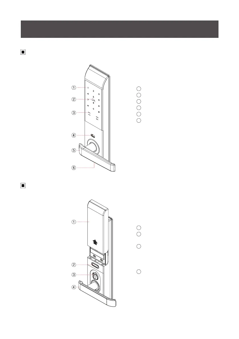
I. Tổng quan về sản phẩm
Mặt khóa ngoài
Mặt khóa trong
1
1
2
2
3
3
4
4
5
6
Nút bàn phím
Vị trí đặt thẻ từ
Đèn báo bên trong
Vịtrí tra chìa khóa cơ khẩn cấp
Tay nắm
Tiếp điểm cấp nguồn dự phòng 9V
Nắp che Pin
Nút mở/đóng: Sử dụng nút mở đóng để
mở
hoặc đóng cửa trong phòng
Nút xoay đóng mở thủ công
Sử dụng nút xoay đóng mở thủ công để
mở cửa bằng tay (khi xảy ra hỏa hoạn
hoặc trường hợp khẩn cấp khác.
Tay nắm

Related product manuals