EasyManua.ls Logo

Hakko Electronics FR-400 - Vacuum Operation Mode Selection

Hakko Electronics FR-400
37 pages
Print Icon
To Next Page IconTo Next Page
To Next Page IconTo Next Page
To Previous Page IconTo Previous Page
To Previous Page IconTo Previous Page
Loading...
ShutOff Set (continued)
4. When setting “Shut Off” to “ON”,
the area for “Timer” flashes.
5. Press the <> or <> to set the desired
figure.
6. Pressing the <ENT> button after this change
makes the set time stored in the internal memory.
<↑> <↓> <ENT>
S h u t O f f S e t
S h u t O f f
T i m e r
ON
0m
<↑> <↓> <ENT>
T emp M o d e
S h u t O f f S e t
V acuumM o d e
C
ON
NOR
15
6. PARAMETER SETTING (continued)
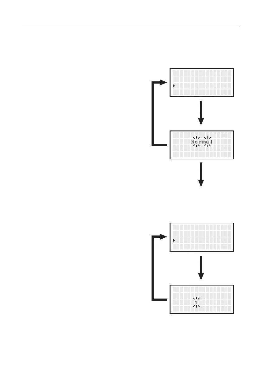
Vacuum Mode
1.
Move the cursor to select “
VacuumMode
”.
After selecting, press <ENT>.
2. Normal and Timer will be switched alternately
if you press the <> or <> button.
3. Return to parameter setting display
if you press the <ENT> button after
setting.
Vacuum Time
1.
Move the cursor to select “
Vacuum Time
”.
After selecting, press <ENT>.
2. Press the <> or <> button, you can
change to the desired value.
3. Return to parameter setting display
if you press the <ENT> button after
setting.
* When selecting “Timer”
“Vacuum Time” appears under “VacuumMode” in the parameter select screen.
Select whether you manually operate the desoldering pump or use the timer function.
Normal
:
Solder is sucked only when you are pulling the trigger.
Timer
:
Even after you release the trigger, sucking continues for the specified period of time.
* Set time in “Vacuum Time”.
<↑> <↓> <ENT>
T emp M o d e
S h u t O f f S e t
V acuumM o d e
C
OFF
NOR
<↑> <↓> <ENT>
V acuum M o d e S e t
T i me r
Select
Normal
Select
Timer
(Vacuum Time)
<↑> <↓> <ENT>
S h u t O f f S e t
V acuumM o d e
V acuum T i me
OFF
T I ME
1s
<↑> <↓> <ENT>
V acuum T i me S e t
0
sec
16

Related product manuals