EasyManua.ls Logo

Hakko Electronics FR-400 - Adjusting Nozzle Temperature Offset

Hakko Electronics FR-400
37 pages
Print Icon
To Next Page IconTo Next Page
To Next Page IconTo Next Page
To Previous Page IconTo Previous Page
To Previous Page IconTo Previous Page
Loading...
Set Temp (Nozzle temperature setting)
1. Move the cursor to select “Set Temp”. After selecting, press <ENT>.
2.
Entering from hundreds to units digit
Press the <> or <> to set the desired figure.
You will proceed to the next digit if the <ENT> button is pressed.
Only values from 3 to 5 can be selected when entering the hundreds digit.
(In °F mode, values from 6 to 9 can be selected.)
Values from 0 to 9 can be selected when entering the tens or units digits.
(The same values can be selected in °F mode.)
3. When desired figure is displayed, press the button to enter.
The next digit will begin to flash. After entering the units digit, press the button to
save the figure to the system memory and begin heater control with new setting
temperature.
CAUTION
The temperature range is from 350 to 500°C. (660 to 940°F)
If you enter a value outside the temperature setting range, the display returns to the
hundreds digit, and you have to enter a correct value.
CAUTION
If power is switched off or lost during the execution of this procedure, no data
will be entered. The entire procedure must be repeated from step 1.
<↑> <↓> <ENT>
S e t T emp
O f f s e t T emp
V acuum Check
350 C
00 C
C
<↑> <↓> <ENT>
C
<↑> <↓> <ENT>
C
<↑> <↓> <ENT>
7
5. OPERATION (continued)
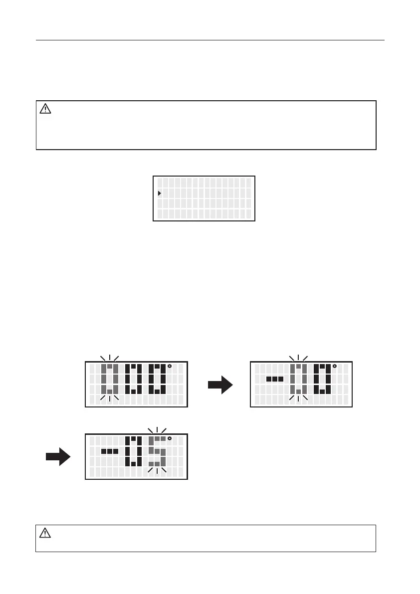
Offset Temp (Nozzle temperature offset setting)
1.
Move the cursor to select “OffsetTemp”. After selecting, press <ENT>.
2. Enter the offset value (-05) which is the difference between tip temperature and set
temperature.
Press the <> or <> to set the desired figure.
You will proceed to the next digit if the <ENT> button is pressed.
The hundreds digit can display 0 (for positive value) or minus sign. (for negative value)
(Same values can be selected in
°F
mode.)
Values from 0 to 5 can be selected when entering the ten digit.
(In °F mode, values from 0 to 9 can be selected.)
Values from 0 to 9 can be selected when entering the units digit.
(Same values can be selected in °F mode.)
3. After entering the units digit, press the button to save the figure to the system
memory and begin heater control with the new offset value.
CAUTION
During the offset setting, please be careful tip temperature does not exceed 500°C.
CAUTION
The allowable ranges for offset values are from -50 to +50°C . (In °F mode, from -90
to +90°F) If you enter a value outside the offset value range, the display returns to
the hundreds digit, and you have to enter a correct value.
<↑> <↓> <ENT>
S e t T emp
O f f s e t T emp
V acuum Check
350 C
00 C
C
<↑> <↓> <ENT>
C
<↑> <↓> <ENT>
C
<↑> <↓> <ENT>
8
Example:
If the measured temperature is 405°C and set temperature is 400°C, the
difference is -5°C. (need to decrease by 5°C) So, enter the figure which 5
is deducted from present offset value.

Related product manuals