EasyManua.ls Logo

Hakko Electronics FR-410 - Vacuum Mode; Vacuum Time

Hakko Electronics FR-410
36 pages
Print Icon
To Next Page IconTo Next Page
To Next Page IconTo Next Page
To Previous Page IconTo Previous Page
To Previous Page IconTo Previous Page
Loading...
15
ShutOff Set
4. When setting “Shut Off” to “ON,”
the area for “Timer” flashes.
5.Press the <> or <> to set the desired
figure.
6. Pressing the <ENT> button after this change
makes the set time stored in the internal memory.
<↑> <↓> <ENT>
Sh u t O f f Se t
Sh u t O f f
T i me r
ON
0m
<↑> <↓> <ENT>
Temp Mod e
Sh u t O f f Se t
V acuum Mod e
F
ON
NOR
16
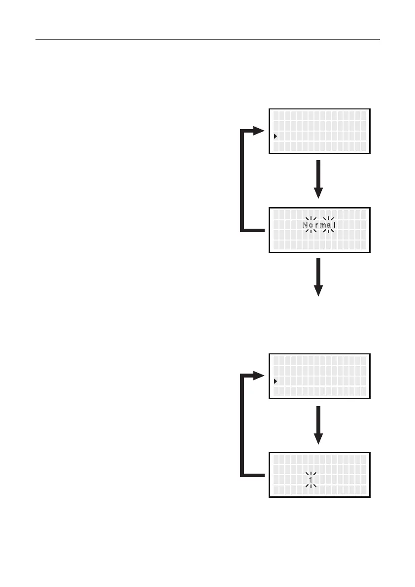
Vacuum Mode
1.
Move the cursor to select “
VacuumMode
”.
After selecting, press <ENT>.
2. Normal and Timer will be switched alternately
if you press the <> or <> button.
3. Return to parameter setting display
if you press the <ENT> button after
setting.
Vacuum Time
1.
Move the cursor to select “
Vacuum Time
”.
After selecting, press <ENT>.
2. Press the <> or <> button, you can
change to the desired value.
3. Return to parameter setting display
if you press the <ENT> button after
setting.
* When selecting Timer:
“Vacuum Time” appears under “Vacuum Mode” in the parameter select screen.
Select whether you manually operate the desoldering pump or use the timer function.
Normal
Solder is sucked only when you are pulling the trigger.
Timer
Even after you release the trigger, sucking continues for the specified period of time.
* Set time in “Vacuum Time.”
<↑> <↓> <ENT>
Temp Mod e
Sh u t O f f Se t
V acuumMod e
F
OFF
NOR
<↑> <↓> <ENT>
V acuum Mo d e S e t
T i me r
Select
Normal
Select
Timer
(Vacuum Time)
<↑> <↓> <ENT>
Sh u t O f f Se t
V acuumMod e
V acuum T i me
OFF
T I ME
1s
<↑> <↓> <ENT>
V acuum T i me S e t
0
sec

Other manuals for Hakko Electronics FR-410

Related product manuals