EasyManua.ls Logo

Hakko Electronics FR-410 - Page 7

Hakko Electronics FR-410
36 pages
Print Icon
To Next Page IconTo Next Page
To Next Page IconTo Next Page
To Previous Page IconTo Previous Page
To Previous Page IconTo Previous Page
Loading...
5
When triggering before the heater reaches set temperature
HEAT I NG...
PLEASE
W
A I T
When triggering before the heater reaches set
temperature, the display screen shows “HEATING
PLEASE WAIT” and the vacuum does not work.
Please wait for the heater to reach the set temperature.
Nozzle
Board
Solder
Lead
1. Place the nozzle over the lead wire of the part to be
desoldered and begin heating.
Be careful to heat the lead wire and the solder, not the land.
Placing the nozzle directly in contact with the land may
cause the land to peel off. You may apply a small amount of
solder to form a heat bridge to help the heating process.
2. Check to make sure all of the solder on the joint has melted.
With the nozzle still in place over the lead wire, slowly move
the lead wire, being careful not to apply too much force. If
the lead wire moves easily, all of the solder has melted.
3. Pull the trigger to remove the melted solder.
4. If the solder was not removed, re-solder the part using new
solder and then repeat the desoldering process.
A. Desoldering
If the pump does not operate, immediately clean
the nozzle & heating element and replace the filter
if necessary.
CAUTION
Make sure that a filter has been inserted in the
desoldering tool. Desoldering without a filter may
damage the pump.
CAUTION
If you wish to exit the
PRESET SELECTION
screen, simply use the
DOWN button to scroll
to the bottom of the list,
and select <EXIT>.
B.Making Changes to Settings
Selecting the preset number
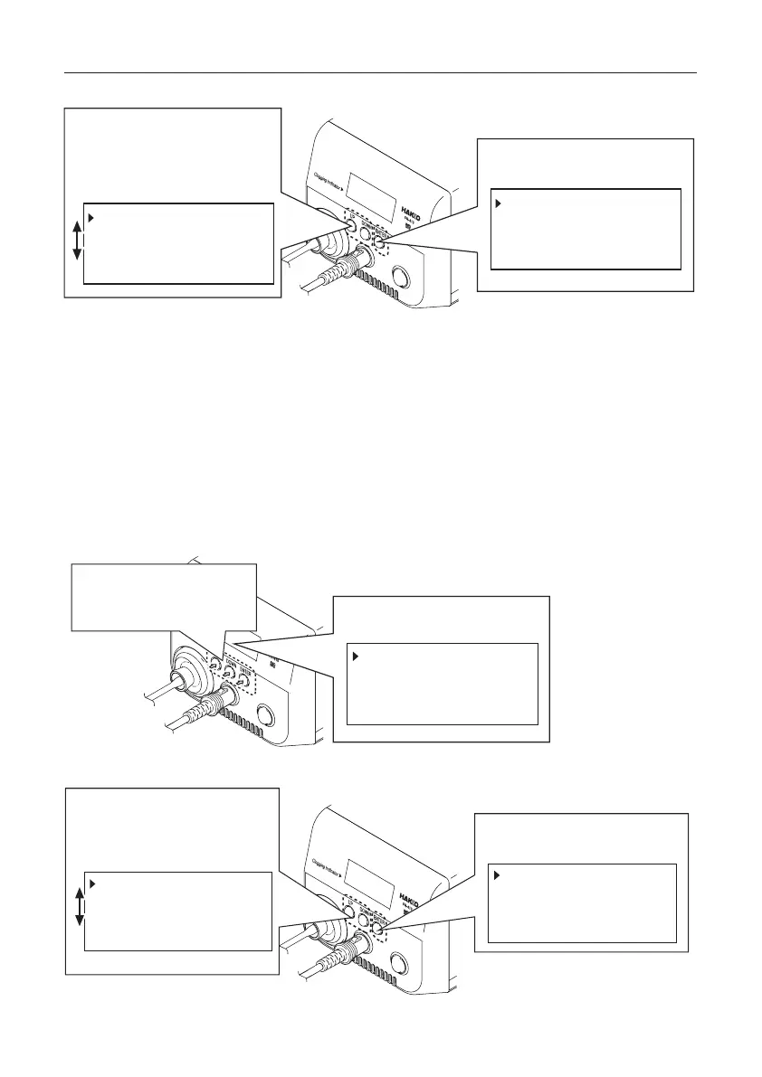
The HAKKO FR-410 has a preset mode.
1. Press any of the
three control buttons.
<↑> <↓> <ENT>
PRESET1
PRESET2
PRESET3
660
750
840
2. The preset selection screen
appears.
6
Changing various settings
(other than preset selections)
2. The setting selection screen
appears.
Set Temp
Offset Temp
Vacuum Check
<↓> <ENT><↑>
1.
Press and hold any one
of the three control buttons
for at least 2 seconds.
The following settings
can be changed from
this screen:
Set Temp
Offset Temp
Vacuum Check
Preset Temp
Preset ID
LCD Contrast
<EXIT>
3.
Make your SELECTION by
moving the cursor UP or DOWN
by pressing the corresponding
buttons.
Set Temp
Offset Temp
Vacuum Check
<↓> <ENT><↑>
Set Temp
Offset Temp
Vacuum Check
<↓> <ENT><↑>
4. Press the <ENT> button to
finalize your selection.
If you wish to exit the PRESET SELECTION screen...
Select <EXIT> and press the <ENT> button. You will return to the normal display
screen without making any changes.
If the device is left alone without making any operation for 10 seconds, you will return
to the normal display screen.
When changing the current set temperature or the preset temperature, follow the
operation of “
Changing various setting (other than preset selections)”.
<↓> <ENT>
4. Press the <ENT> button to
finalize your selection.
<↑>
3. Make your SELECTION
moving the cursor UP or DOWN
by pressing the corresponding
buttons.
<↓> <ENT>
660
750
840
<↑>
PRESET1
PRESET2
PRESET3
660
750
840
PRESET1
PRESET2
PRESET3

Other manuals for Hakko Electronics FR-410

Related product manuals