EasyManua.ls Logo

Hakko Electronics FT-802 - Page 11

Hakko Electronics FT-802
16 pages
Print Icon
To Next Page IconTo Next Page
To Next Page IconTo Next Page
To Previous Page IconTo Previous Page
To Previous Page IconTo Previous Page
Loading...
9
NOTE:
Returns to
normal
operation
Or
Press and hold the
[ENTER] button.
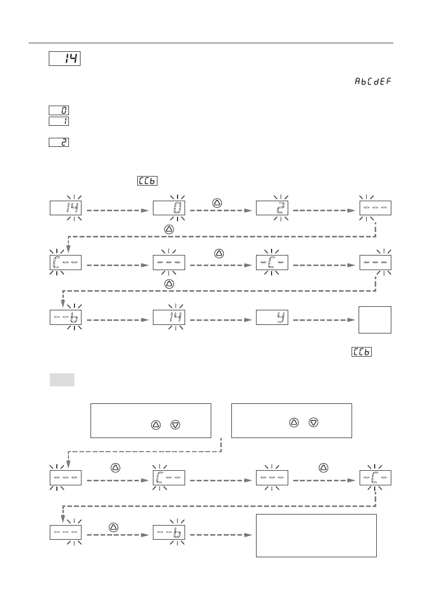
Password setting
Setting a password enables the set output value or parameter values to be locked.
The password is set by selecting a combination of 3 characters from among the 6 characters of .
The password setting has 3 levels.
: Disabled (no lock)
:
Partially enabled. (The parameter settings are locked by the password. Although the output value is not
locked and can be changed, the output value cannot be set higher than the output upper limit setting.)
: Enabled (Output value and parameter setting details are completely locked by the password.)
1.Setting method (when the password is enabled)
Ex) To set the password to , follow the steps below.
Press the [ENTER] button. Press the button twice.
Press the button three times (to change to the password input screen.)
Press the [ENTER] button.
Press the [ENTER] button.
Press the button
three times
Press the [ENTER] button.
Press the [ENTER] button. Press the [ENTER] button.
If the password is enabled, it is necessary to input the password to enter the output value setting
mode or parameter setting mode.
While holding the or button
pressed, switch on the power.
Parameter setting
2. Inputting method (When the password is enabled, input the previously set password; in
the example.)
Pressing the or button
or [ENTER] button for 2 sec.
Output value setting
Press the button
three times
Press the [ENTER] button.
Press the [ENTER] button.
Press the button twice. Press the [ENTER] button.
Press the button
three times
The display will change to the parameter
setting or output value setting display
respectively. For the setting method,
refer to the “Setting/changing output” or
“Setting parameters”.
Press the button twice.

Other manuals for Hakko Electronics FT-802

Related product manuals