EasyManua.ls Logo

HAMPTON BAY Espresso - Assemble Bottom and Front Rail; Assemble Fixed Shelf and Partition

HAMPTON BAY Espresso
16 pages
Print Icon
To Next Page IconTo Next Page
To Next Page IconTo Next Page
To Previous Page IconTo Previous Page
To Previous Page IconTo Previous Page
Loading...
7
HAMPTONBAY.COM
Please contact 1-855-HD-HAMPTON for further assistance.
Assembly
3
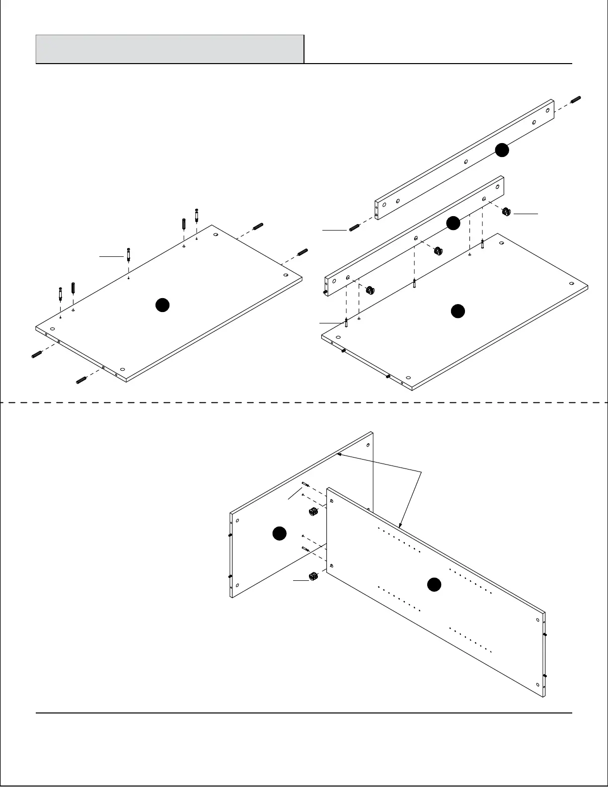
Assembling the bottom and bottom front rail
Insert eight wood dowels (c) into the bottom (B) and bottom front rail (J).
Turn three cam bolts (b) into the holes in the bottom (B).
Connection bottom (B) and bottom front rail (J) , ensure that the wood dowels (c) and cam bolts (b)
are fully inserted into the appropriate holes.
Insert three cam locks (a) into the attached holes to the bottom front rail (J) , then turn
all of the cam lock (a) clockwise until they lock into place over the cam bolts (b).
4
Assembling the fixed shelf and partiton
Connection fixed shelf (F) and partition (E) , ensure that the wood dowels (c)
and cam bolts (b) are fully inserted into the appropriate holes.
Insert two cam locks (a) into the holes to the partition (E) ,
then turn all of the cam lock (a) clockwise until they
lock into place over the cam bolts (b).
B
E
F
B
J
J
Unfinished edge
b
b
b
a
c
a

Related product manuals