EasyManua.ls Logo

H&S HDNR 7+4 - Page 34

Default Icon
60 pages
Print Icon
To Next Page IconTo Next Page
To Next Page IconTo Next Page
To Previous Page IconTo Previous Page
To Previous Page IconTo Previous Page
Loading...
-32-
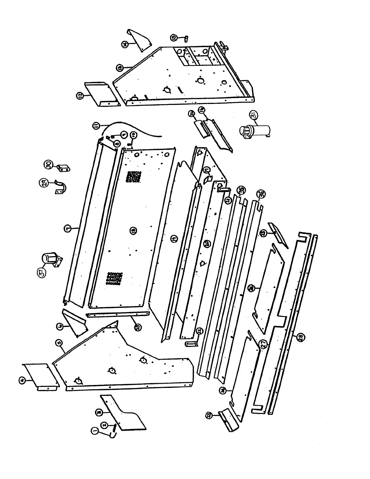
FIGURE 2
ITEM PART NO. DESCRIPTION
1. F73 Snap Ring
2. F16 Lock Collar
3. F114 Bearing Flange w/Zerk
4. F115 Bearing Greaseable Type
5. F14 Bearing Flange
6. S23 LH Beater Stub Shaft
7. S24 RH Beater Stub Shaft
8. S25 Beater
9. G23 5/16’’ x 1-3/8’’ Square Key
10. F114A Bearing Flange w/Zerk 45 Degree
11. S218 3/8’’ Spacer
12. S26 3rd Beater Sprocket 20T
13. S219 1/4’’ Spacer
14. K60 Nut
15. X67 Washer
16. S27 Wood Chain Tightener
17. S28 Carriage Bolt
18. X58 2nd to 3rd Beater Chain 89 Pitches #50
19. S30 2nd Beater Sprocket 30T - 13T
20. S31 1st to 2nd Beater Chain 98 Pitches #50
21. X58 Beater Drive Chain 89 Pitches #50
22. 10R32 Snap Ring
23. S33 Chain Tightener Bushing
24. S34 Tightener Sprocket w/Bushing
25. S35 Chain Tightener Bracket
26. S36 Drive Shaft Spacer
27. S37 Apron Drive Shaft Sprocket
28. A32 3/8’’ x 1-3/8’’ Square Key
29. S327 Poly Gearbox Washer
30. S38 3/8’’ x 2-3/8’’ Square Key
31. ST10 Apron Drive Chain 56 Pitches #80
32. S40 Chain Tightener
33. S41 Bushing
34. S42 1st Beater Sprocket 60T-20T
35. S43 Drive Shaft Brace
36. S44 Bushing
37. PB192 Apron Drive Sprocket 30T
38. S46 Grease Line Bracket
39. S47 Grease Line Fitting
40. S48 Short Grease Line
41. S49 Long Grease Line
42. S50 Drive Shaft Bushing
43. S51 LH Drive Shaft Bracket
44. S52 RH Drive Shaft Bracket
45. S53 Center Bearing Bracket
46. S233 667H Pintle Slat with Attachment Links
47. 11S51 667H Pintle Connector Link
48. 11S50 667H Pintle Attachment Link RH or LH
49. S324 667H Complete Pintle Apron 16’
* S325 667H Complete Pintle Apron 18’
* S326 667H Complete Pintle Apron 20’
50. ST11 Worm Gear Shaft Sprocket 13T
* S66 Slow Down Sprocket 11T
51. S67 Grease Line Clip
52. S68 Main Apron Drive Chain
53. S216 Chain Tightener Assembly
54. BFR319 “I’’–Bolt 3/8’’ x 2-1/2’’
55. PB117 Front Clutch Dog
56. 23N225 Bushing (1)
57. 23N227 Snap Ring
58. PB126 Clutch Sprocket Washer
59. PB191 Clutch Pin
NOTE: * (Means Not Shown)
-29-
FIGURE 3
BEATERS AND MAIN APRON DRIVE