EasyManua.ls Logo

HANGCHA CBD20-AEC1S - Page 17

HANGCHA CBD20-AEC1S
96 pages
Print Icon
To Next Page IconTo Next Page
To Next Page IconTo Next Page
To Previous Page IconTo Previous Page
To Previous Page IconTo Previous Page
Loading...
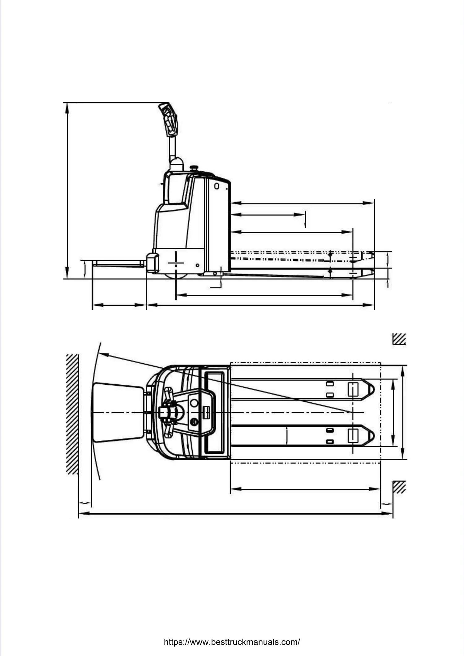
1010
a/2a/2
a/2a/2
AstAst
L6L6
ee
WW
aa
bb
55
bb
11
11
44
22
00
11
44
77
432432
LL
CC
QQ
XX
yy
L1L1
m2m2
hh
33
hh
11
33
https://www.besttruckmanuals.com/

Table of Contents

Related product manuals