EasyManua.ls Logo

Hanover 9820101-2 - 016

Default Icon
24 pages
Print Icon
To Next Page IconTo Next Page
To Next Page IconTo Next Page
To Previous Page IconTo Previous Page
To Previous Page IconTo Previous Page
Loading...
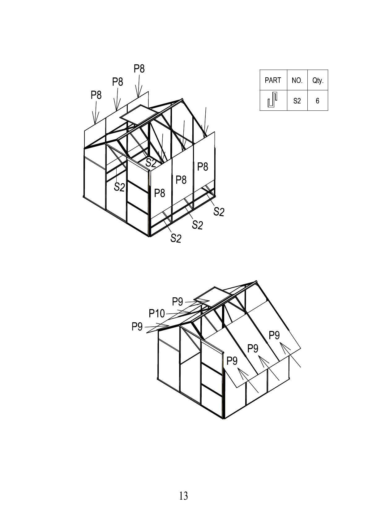
Side and Roof Panels Installation
1.Insert six P8 panels into
S2 at the base.
1.Insert all roof panels (P9,P10).
2.Install gutter(25) to keep roof
panels in place (see next page)

Related product manuals