EasyManua.ls Logo

Harbor Freight Tools 43149 - Wiring Diagram - Part 2

Default Icon
18 pages
Print Icon
To Previous Page IconTo Previous Page
To Previous Page IconTo Previous Page
Loading...
#43149 Page 18
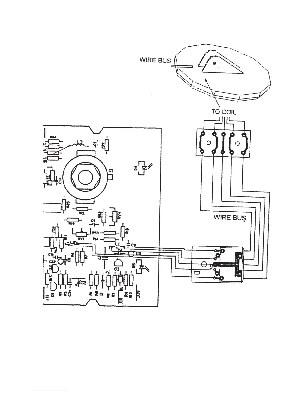
Wiring Diagram (continued from prior page)

Other manuals for Harbor Freight Tools 43149

Related product manuals