EasyManua.ls Logo

Harman Kardon AVR 335 - Zone II Remote Control Functions

Harman Kardon AVR 335
56 pages
Print Icon
To Next Page IconTo Next Page
To Next Page IconTo Next Page
To Previous Page IconTo Previous Page
To Previous Page IconTo Previous Page
Loading...
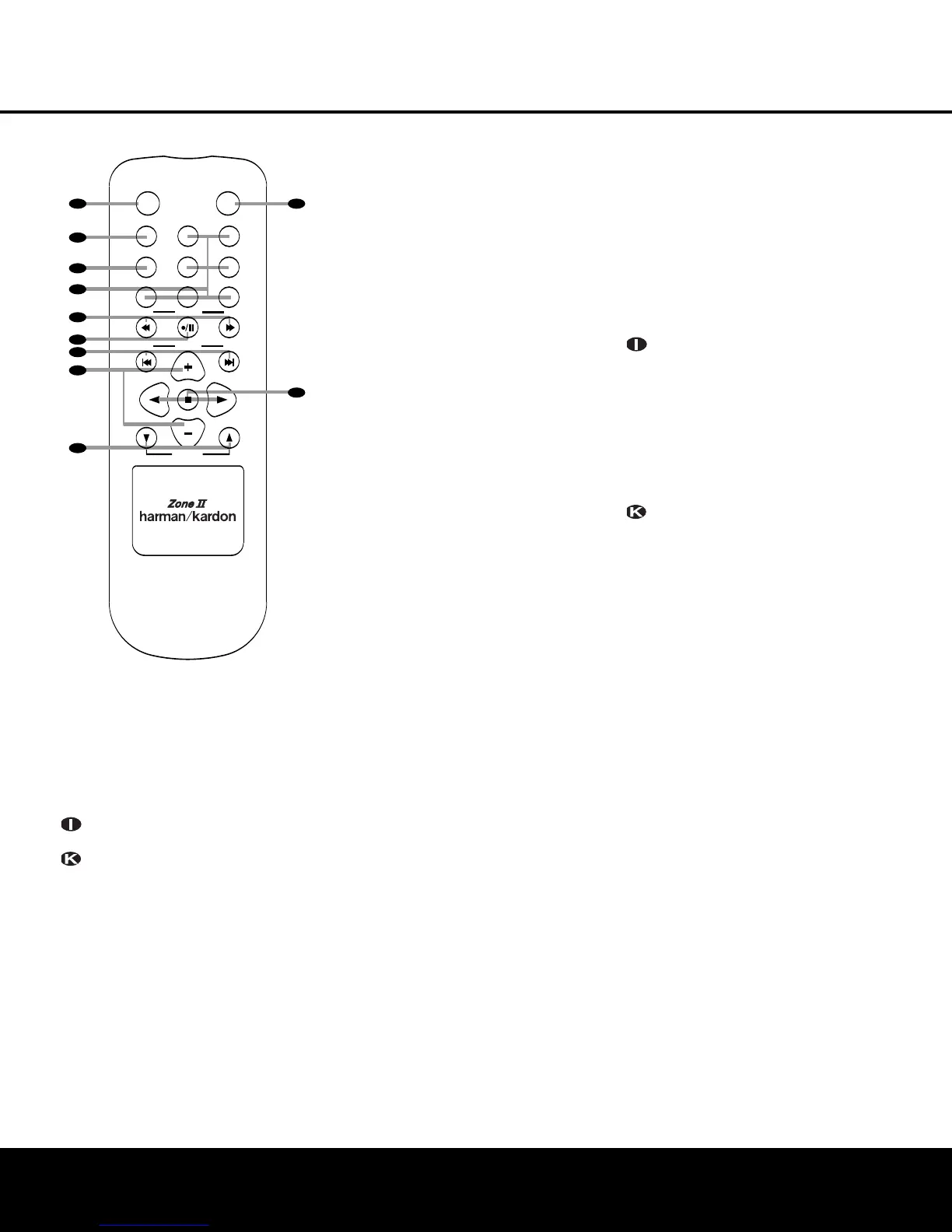
å
Power Off: When used in the room where the
A
VR 335 is located, press this button to place the unit
in Standby. When it is used in a remote room with a
sensor that is connected to the
Multiroom IR Input
jack, this button turns the Multiroom system on
and off
.
AVR Selector: Press this button to turn on the
AVR 335. The input in use when the unit was last on
will be selected.
ç
AM/FM Tuner Select Button: Press this button
to select the Tuner as the input to the Multiroom
system. Press it again to change between the AM
and FM bands.
Input Selectors: When the AVR 335 is off,
press one of these buttons to select a specific input
and turn the unit on. When the unit is already in use,
pressing one of these buttons will change the input.
Tuning Up/Down – Fast Play Buttons:
When this remote is used in the same room as the
AVR 335, these buttons may be used to change the
frequency of the tuner. These buttons may also control
the Fast Play or Fast Reverse functions of compatible
Harman Kardon CD, DVD or cassette decks in the
same room, or from a remote room when an IR link
is connected to the AVR 335.
ƒ
Record/Pause Button: Press this button to
activate the Record or Pause function on compatible
Harman Kardon CD, DVD or cassette deck products.
©
Preset Up/Down – Track Skip Buttons: When
the
AVR 335’s tuner is selected as the input source,
these buttons will move up or down through the list of
stations that have been stored in the preset memory.
When a CD or DVD changer or player is selected,
these buttons activate the F
orward or Reverse Track
or Chapter Skip functions
.
˙
Disc Skip Buttons: Press these buttons to
change discs on compatible Har
man Kardon CD or
DVD changers or players.
Volume Up/Down Buttons: When used in the
room where the AVR 335 is located, press this button
to raise or lower the volume in that room. When used
in a remote room with a sensor that is connected to
the
Multiroom IR Input jack, this button will raise
or lower the volume in the remote room.
Play Forward/Reverse/Stop Buttons: Press
these buttons to control compatible Harman Kardon
CD, DVD or cassette players.
Mute Button: When used in the room where
the AVR 335 is located, press this button to temporar-
ily silence the unit. When it is used in a remote room
with a sensor that is connected to the
Multiroom IR
Input
jack, this button will temporarily silence the
feed to the remote room only. Press the button again
to return to the previous volume level.
å
Power Off
AVR Selector
ç
AM/FM Tuner Select Button
Input Selectors
Tuning Up/Down – Fast Play Buttons
ƒ
Record/P
ause Button
©
Preset Up/Down – Track Skip Buttons
˙
Disc Skip Buttons
Volume Up/Down Buttons
Play F
orward/Reverse/Stop Buttons
Mute Button
P
OWER
OFF
MUTE
AVR
AM//FM
VID 1
VID 3
DVD
CD
TAPE
DN
TUNING
PRESET
VOLUME
DISC SKIP
DISC SKIP
UP
DN
UP
VID 4
VID 2
G
A
B
C
D
E
F
H
I
K
J
NOTES:
The Zone II remote may be used in either the same room where the AVR 335 is located, or it may be used in
a separate room with an optional infrared sensor that is connected to the AVR 335’s
Multiroom IR Input
jack. When it is used in the same room as the AVR 335, it will control the functions of the AVR 335 or any com-
patible Harman Kardon products in that room. When it is used in a separate room via a sensor connected to the
Multiroom IR Input jack,
the buttons for P
ower
,
Input Source
, Volume and Mute will control the source and
volume for the second zone, as connected to the
Multiroom Audio Output ¡ jacks. (See page 35 for com-
plete information on using the Multiroom system.)
To make it easier to follow the instructions that refer to this illustration, a larger copy may be downloaded from
the Product Support section for this product at www
.har
mankardon.com.
ZONE II REMOTE CONTROL FUNCTIONS
ZONE II REMOTE CONTROL FUNCTIONS 13

Other manuals for Harman Kardon AVR 335

Related product manuals