EasyManua.ls Logo

Harman Kardon CDR2 - Specifications

Harman Kardon CDR2
99 pages
To Next Page IconTo Next Page
To Next Page IconTo Next Page
To Previous Page IconTo Previous Page
To Previous Page IconTo Previous Page
Loading...
- 6 -
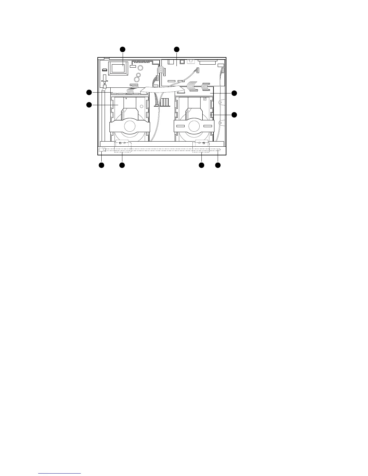
INTERNAL VIEW
TOP VIEW
810 9 7
4
6
21
5
3
POWER P.C. BOARD (PCB-1)
IO P.C. BOARD (PCB-2)
CDP MECHANISM ASSY (MECHA-1)
CDR MECHANISM ASSY (MECHA-2)
CDP P.C. BOARD (PCB-3)
CDR P.C. BOARD (PCB-4)
FRONT P.C. BOARD (PCB-5)
HEADPHONE P.C. BOARD (PCB-6)
REC VOLUME P.C. BOARD (PCB-7)
POWER LED P.C. BOARD (PCB-8)

Other manuals for Harman Kardon CDR2

Related product manuals