EasyManua.ls Logo

HelloBaby HB6339 - Baby Unit Overview; Key Operation; Turn On;Off; Camera Control (Up;Down;Left;Right)

HelloBaby HB6339
12 pages
Print Icon
To Next Page IconTo Next Page
To Next Page IconTo Next Page
To Previous Page IconTo Previous Page
To Previous Page IconTo Previous Page
Loading...
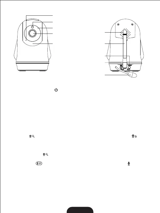
Lens
Speaker
Light sensor
MIC
Infrared LEDs
Power LED
Pair key
DC-Jack
Temperature
sensor
Antenna
4
6. 3 BABY UNIT OVERVIEW:
7. KEY OPERATION
7.1 TURN ON/OFF
Press and hold the power key for 3 seconds to turn on / off the parents unit.
7.2 UP KEY
Press once to tilt the camera up by one step. Press and hold to tilt continuously.
7.3 DOWN KEY
Press once to tilt the camera down by one step. Press and hold to tilt continuously.
7.4 LEFT KEY
Press once to pan the camera left by one step. Press and hold to pan continuously.
7.5 RIGHT KEY
Press once to pan the camera right by one step. Press and hold to pan continuously.
7.6 CAMERA VIEW/SCAN
Press scan key to view/scan camera; during scan mode, the scan icon will be
displayed on the top of screen. Each camera’s video will be displayed on the LCD around
10 seconds then change to next camera;
7.7 DIGITAL ZOOM
Press and hold the key around 2 seconds to operate zoom in/ out;
7.8 Two Way Talk
Press and hold key to enter two way talk mode. A microphone icon will be
displayed in the corner of the LCD screen. Release the key to stop.
Note: When you are in the two-way talk mode, the parent unit speaker is muted.
8. MENU OPERATION
8.1 PAIRING THE CAMERA AND PARENT UNITS
The baby unit is pre-registered to your parent unit. You do not need to register it again unless
the baby unit loses its link with the parent unit. To re-register your baby unit, or register a

Related product manuals