EasyManua.ls Logo

Helm Trend Series - Page 42

Default Icon
46 pages
Print Icon
To Next Page IconTo Next Page
To Next Page IconTo Next Page
To Previous Page IconTo Previous Page
To Previous Page IconTo Previous Page
Loading...
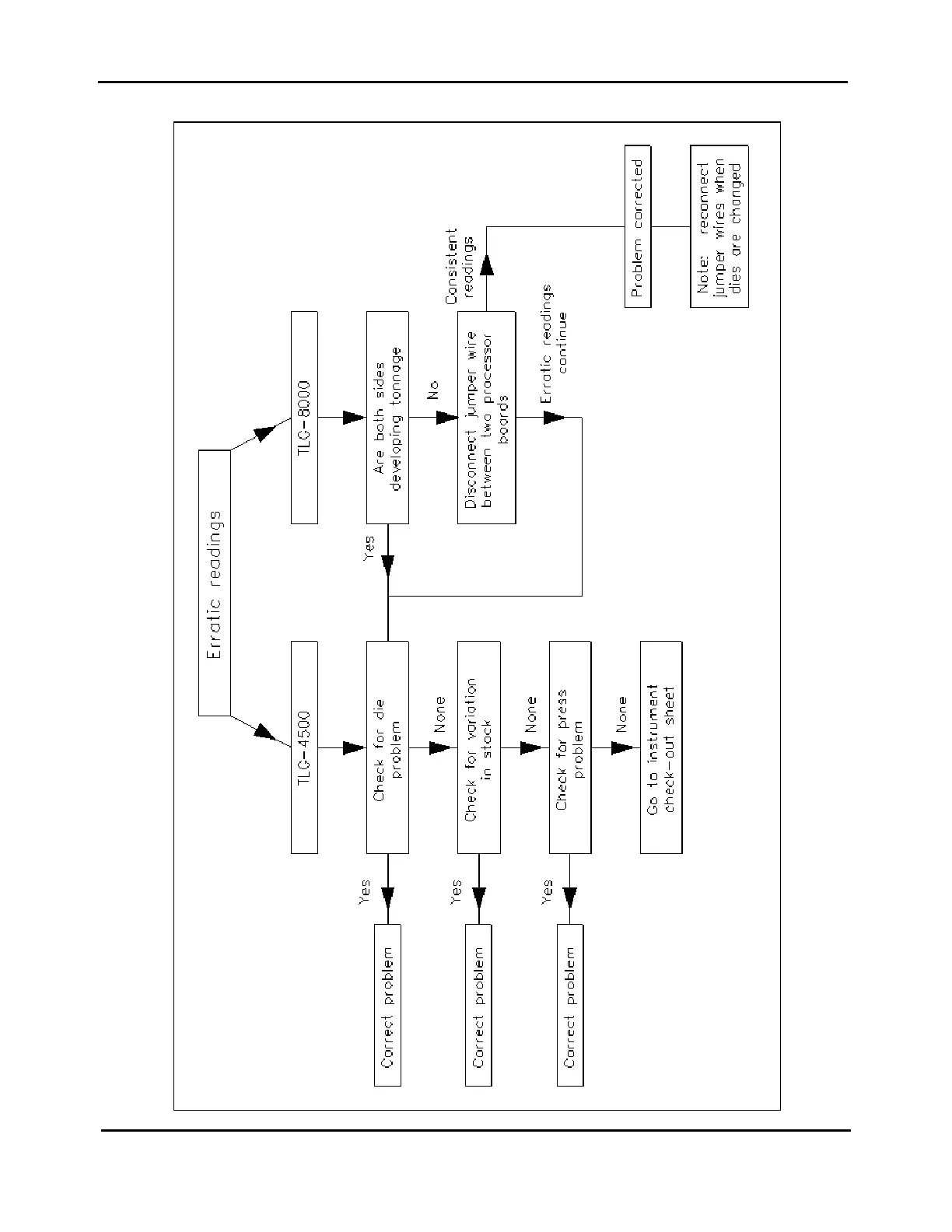
OPERATING INSTRUCTIONS TREND SERIES
Q