EasyManua.ls Logo

Henkelman Jumbo Mini - Elektrisches Diagramm Mini Jumbo & Jumbo Plus; Schéma Électrique Mini Jumbo & Jumbo Plus

Henkelman Jumbo Mini
48 pages
Print Icon
To Next Page IconTo Next Page
To Next Page IconTo Next Page
To Previous Page IconTo Previous Page
To Previous Page IconTo Previous Page
Loading...
<Handboek 1>DU FR
55
<Handboek 1>DU FR
4141
Blau Bleu
Braun Brun
Blau Bleu
Blau BleuBlau Bleu
Braun Brun
Braun BrunBraun Brun
Braun Brun
Rot Rouge
Grün Vert
Grau Gris
Weiß Blanche
Violett Rose
Gelb Jaune
Verbinder auf Steuerung Connecteur sur DRT
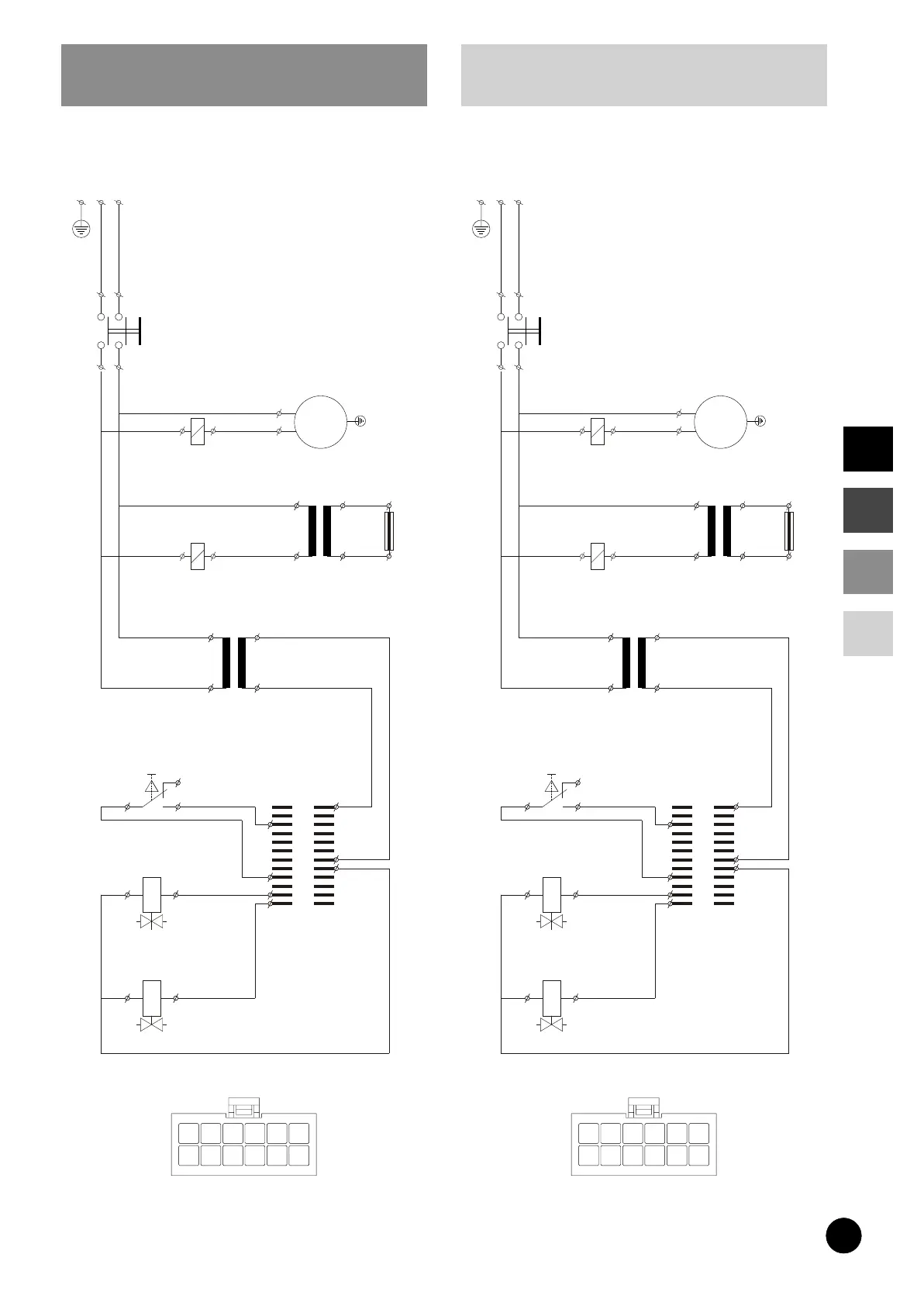
Elektrisches Diagramm
Mini Jumbo & Jumbo Plus
Schéma electrique
Mini Jumbo & Jumbo Plus
11 1110 109 98 8
5 52 2
7 7
1 16 6
12 12
Hauptschalter
Interrupteur principal
Relais auf PCB Relais sur DRT
2a 2a
2 2
1a 1a
1 1
M M
PE PE
00
~~
Schweißtrafo
Transformateur
de soudure
Steuertrafo
Transformateur
de commande
220/380 220/380
220/380 220/380
0 0
0 0
18 18
24 24
0 0
0 0
Relais auf PCB Relais sur DRT
Motor Vakuumpumpe Moteur pompe à vide
Schweißbalken
Barre de
soudure
1 1
2 2
3 3
4 4
5 5
6 6
7 7
8 8
9 9
10 10
11 11
12 12
Mikroschalter Microcontact
3/2 Wege-Ventil
(Schweißung)
Valve à 3/2 voies
(soudure)
2/2 Wege-Ventil
(Belüftung)
Valve à 2/2 voies
(remise d’air)
01 / 01 /2000

Table of Contents

Related product manuals