EasyManua.ls Logo

Herrmidifier Herrtronic MD Series - Pre-Startup Checklist

Herrmidifier Herrtronic MD Series
36 pages
Print Icon
To Next Page IconTo Next Page
To Next Page IconTo Next Page
To Previous Page IconTo Previous Page
To Previous Page IconTo Previous Page
Loading...
Herrtronic
®
MD Series
Installation, Operation, & Maintenance Manual
18 www.herrmidifier-hvac.com
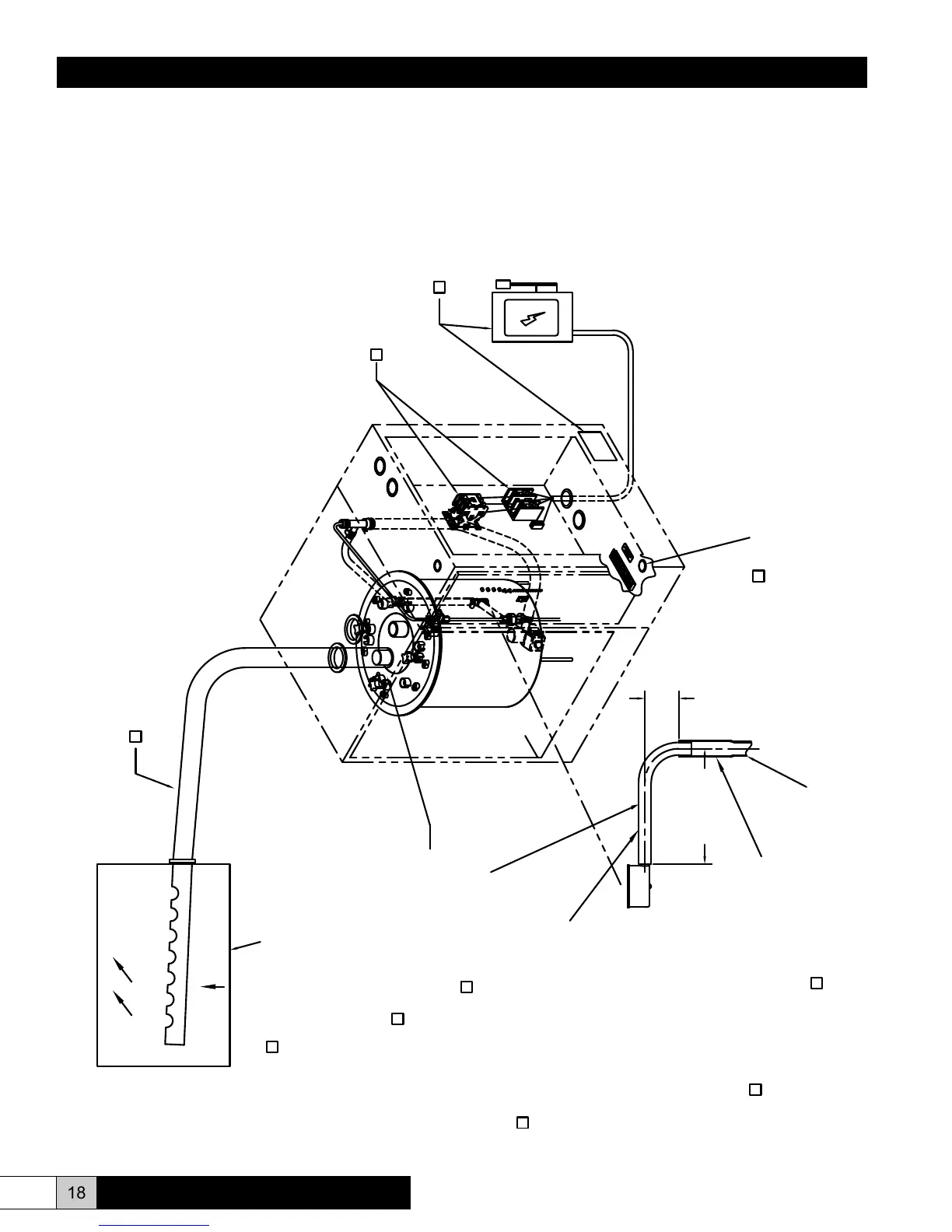
4"
RECOMMENDED
8"
RECOMMENDED
POWER SUPPLY:
1. MATCHES DATA PLATE
2. IS PROPERLY GROUNDED
3. CAN CARRY AT LEAST 125%
OF RATE AMP DRAW
4. DISCONNECT SUPPLIED BY
OTHERS.
MAKE SURE ALL HIGH VOLTAGE
ELECTRICAL CONNECTIONS
ARE TIGHT.
NO UNTRAPPED LOW SPOTS
IN STEAM SUPPLY.
AIR FLOW IS HORIZONTAL OR VERTICAL UPFLOW
A SPECIAL PIPE IS REQUIRED FOR VERTICAL DOWNFLOW,
OR A VERTICAL DISTRIBUTOR PIPE IN A HORIZONTAL
AIR FLOW.
MAKE SURE ALL HIGH VOLTAGE
ELECTRICAL CONNECTIONS ON
STEAM CYLINDER(S) ARE TIGHT
(15-20 in/lbs)
3/4" MIN. I.D./1" MAX O.D.
FLEXIBLE DRAIN CONNECTION
DURING FILL CYCLE CHECK TO SEE IF ANY
WATER IS DRAINING FROM UNIT. A LOT OF
WATER FLOWING OUT OF THE UNIT WOULD
INDICATE EXCESSIVE WATER PRESSURE.
REDUCE THROUGH METERING FILL SOLENOID
OR SUPPLY VALVE TO HUMIDIFIER. A SMALL
AMOUNT OF WATER IS NOT UNCOMMON.
6" MIN. LENGTH OF 1-1/4" MIN. I.D. COPPER LINE.
IF PVC IS USED, LOCAL CODES MAY REQUIRE A LOWER
TEMPERATURE DRAIN WATER. THIS IS NOT UNCOMMON
AND DRAIN TEMPERING SHOULD BE ENABLED.
BALANCE OF DRAIN LINE TO BE 1" MIN. I.D.
WITH A MINIMUM PITCH OF 1/8" PER 12" OF RUN
KNOCKOUT FOR CONTROL WIRING MUST BE
SEALED TO PREVENT FLASH STEAM FROM
ENTERING ELECTRICAL COMPARTMENT.
PRE-STARTUP CHECKLIST