EasyManua.ls Logo

Hitachi DH 40FA - Entretien Et Inspection

Hitachi DH 40FA
56 pages
Print Icon
To Next Page IconTo Next Page
To Next Page IconTo Next Page
To Previous Page IconTo Previous Page
To Previous Page IconTo Previous Page
Loading...
31
Français
ENTRETIEN ET INSPECTION
AVERTISSEMENT: S’assurer de mettre l’interrupteur d’alimentation sur la
position OFF et de déconnecter la fiche de la prise secteur
avant l’entretien et l’inspectio.
1. Contrôle du foret de perçage
Etant donné que l’utilisation d’une mèche usée entraînera un mauvais
fonctionnement du moteur et une diminution de l’efficacité, remplacez la mèche
usée par une neuve ou aiguisez-la immédiatement et dès que vous notez une
certaine usure.
2. Inspection des vis de montage
Inspecter régulièrement toutes les vis de montage et s’assurer qu’elles sont
correctement serrées. Si l’une des vis était desserrée, la resserrer immédiatement.
AVERTISSEMENT: Utiliser la marteau rotatif avec des vis desserrées est
extrêmement dangereux.
3. Entretien du moteur:
Le bobinage de l’ensemble moteur est le “coeur” même de l’outil électro-portatif.
Veiller soigneusement à ce que ce bobinage ne soit pas endommagé et/ou mouillé
par de l’huile ou de l’eau.
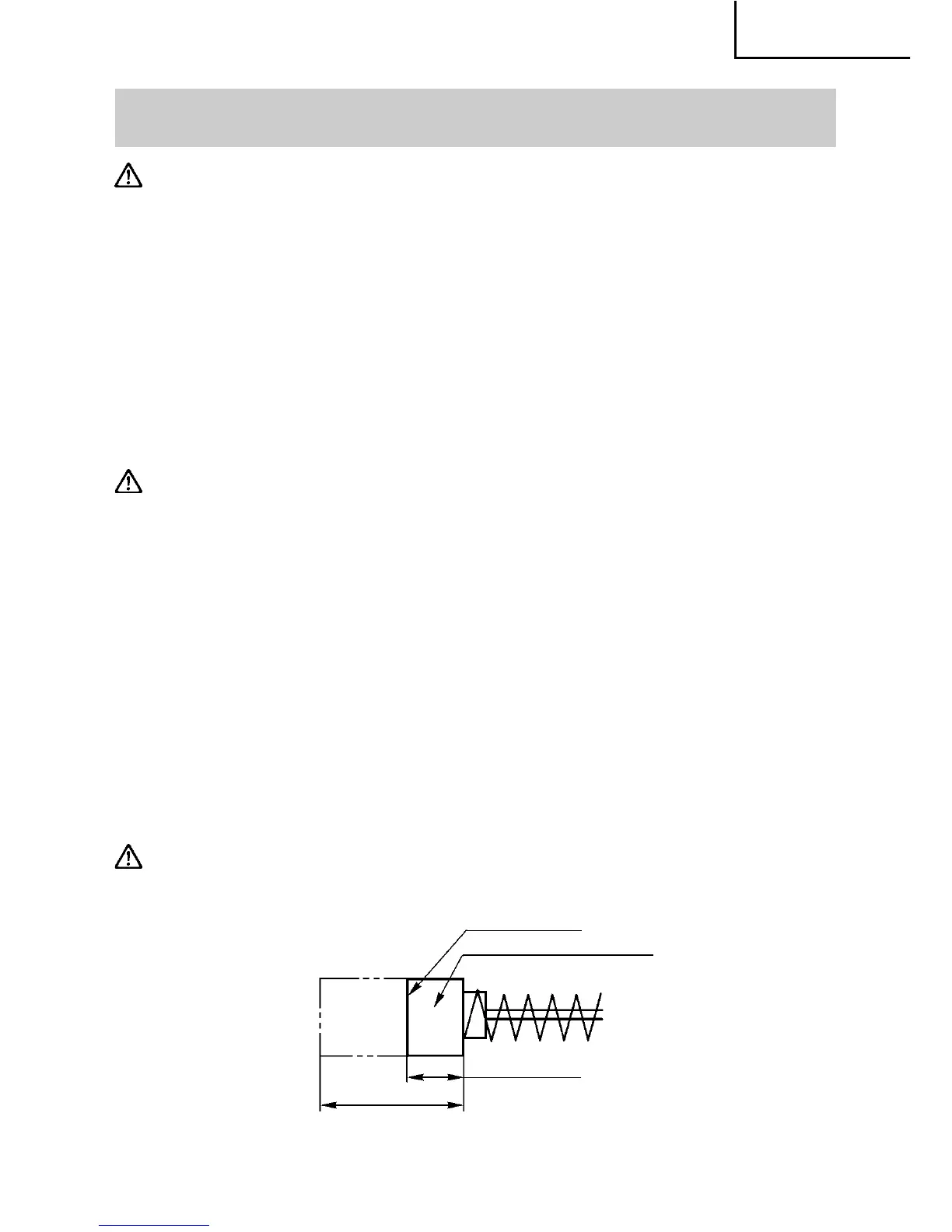
4. Contrôle des balais en carbone (Fig. 17)
Le moteur utilise des balais en carbone qui sont des pièces qui s’usent. Quand
ils sont usés ou près de la “limite d’usure”, il pourra en résulter un mauvais
fonctionnement du moteur.
Quand le moteur est équipé d’un balai en carbone à arrêt automatique, il s’arrêtera
automatiquement. Remplacez alor les balais en carbone par des nouveaux et
ayant les mêmes numéros que ceux montré sur la figure. En outre, toujours
tenir les balais propres et veiller à ce qu’ils coulissent librement dans les supports.
PRECAUTION: Utiliser la polisseuse avec un balai en carbone qui est usé au-
delà de la limite d’usure endommagera le moterur.
REMARQUE: Utiliser le balai en carbone HITACHI No. 73 indiqué sur la Fig. 17.
Limite d’usure
No. du balai en carbone
0,28" (7 mm)
0,67" (17 mm)
73
Fig. 17

Related product manuals